龙虎榜丨真视通今日跌停,“拉萨天团”买入榜占4席

http://ddx.gubit.cn  2023-10-27 22:38  真视通(002771)公司分析

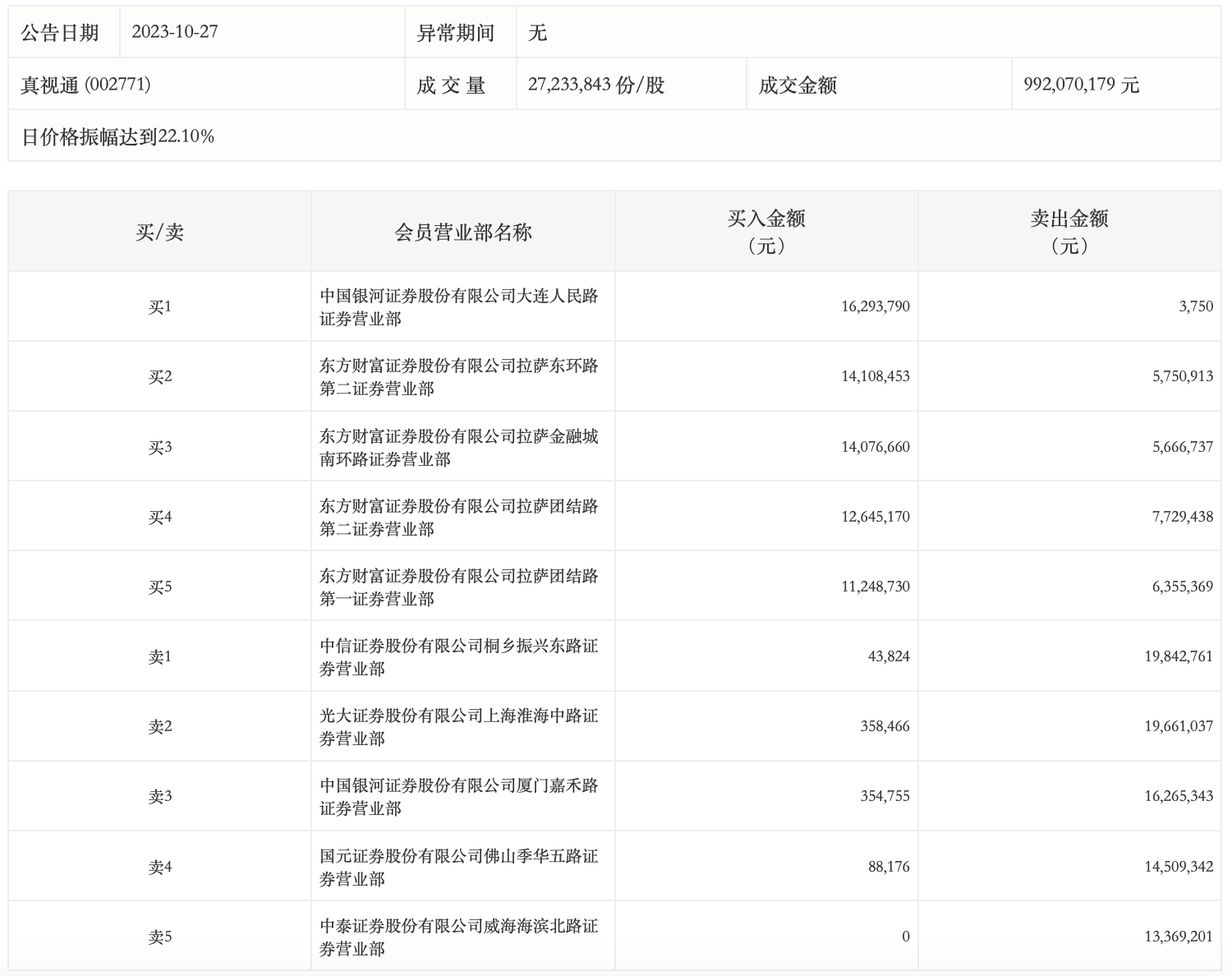
10月27日,真视通今日跌停,全天换手率达15.94%,振幅达19.89%。龙虎榜数据显示,营业部席位合计净卖出3993.59万元。其中,中信证券桐乡振兴东路证券营业部、光大证券上海淮海中路证券营业部分别卖出1984.28万元、1966.10万元;中国银河证券大连人民路证券营业部、东方财富证券拉萨东环路第二证券营业部分别买入1629.38万元、1410.85万元。