龙虎榜丨银宝山新今日涨停,机构合计净买入459.67万元

http://ddx.gubit.cn  2023-11-14 21:35  银宝山新(002786)公司分析

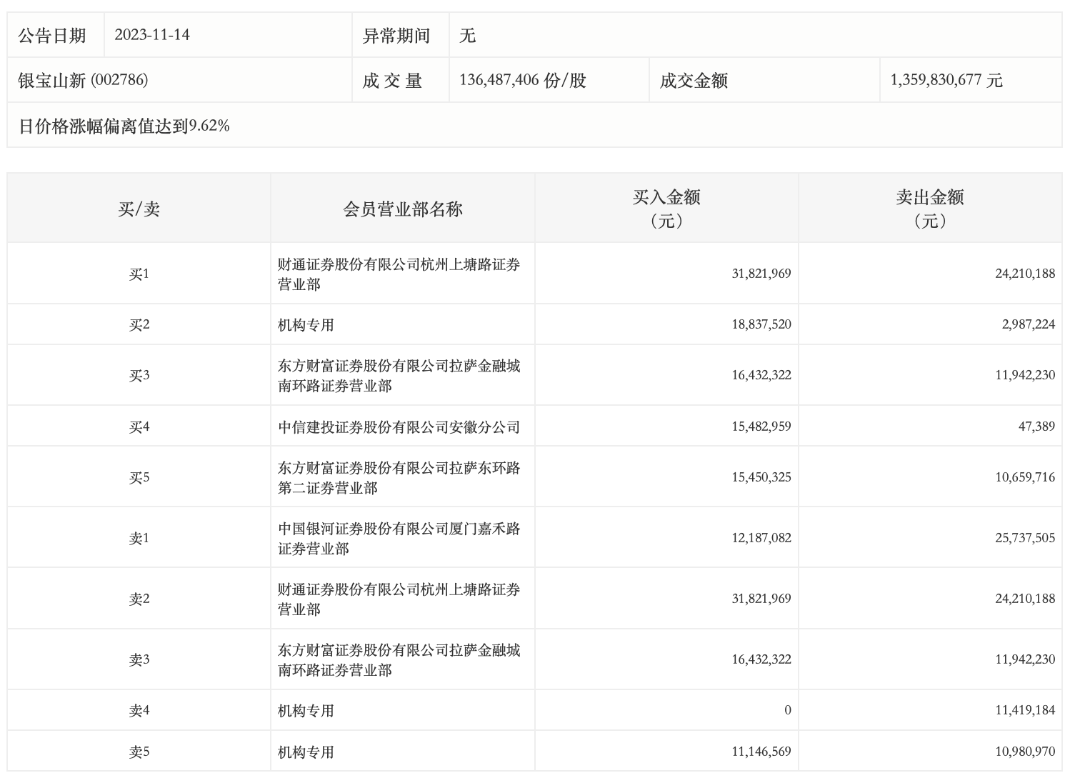
11月14日,银宝山新今日涨停,全天换手率达27.62%,振幅达7.31%。龙虎榜数据显示,营业部席位合计净买入2337.43万元。其中,机构买入2998.41万元,卖出2538.74万元,合计净买入459.67万元。此外,财通证券杭州上塘路证券营业部、东方财富证券拉萨金融城南环路证券营业部分别买入3182.20万元、1643.23万元;中国银河证券厦门嘉禾路证券营业部、财通证券杭州上塘路证券营业部分别卖出2573.75万元、2421.02万元。