龙虎榜丨银宝山新今日涨停,机构合计净买入1997.13万元,知名游资方新侠买入3104.61万元

查股网  2023-11-17 16:50  银宝山新(002786)个股分析

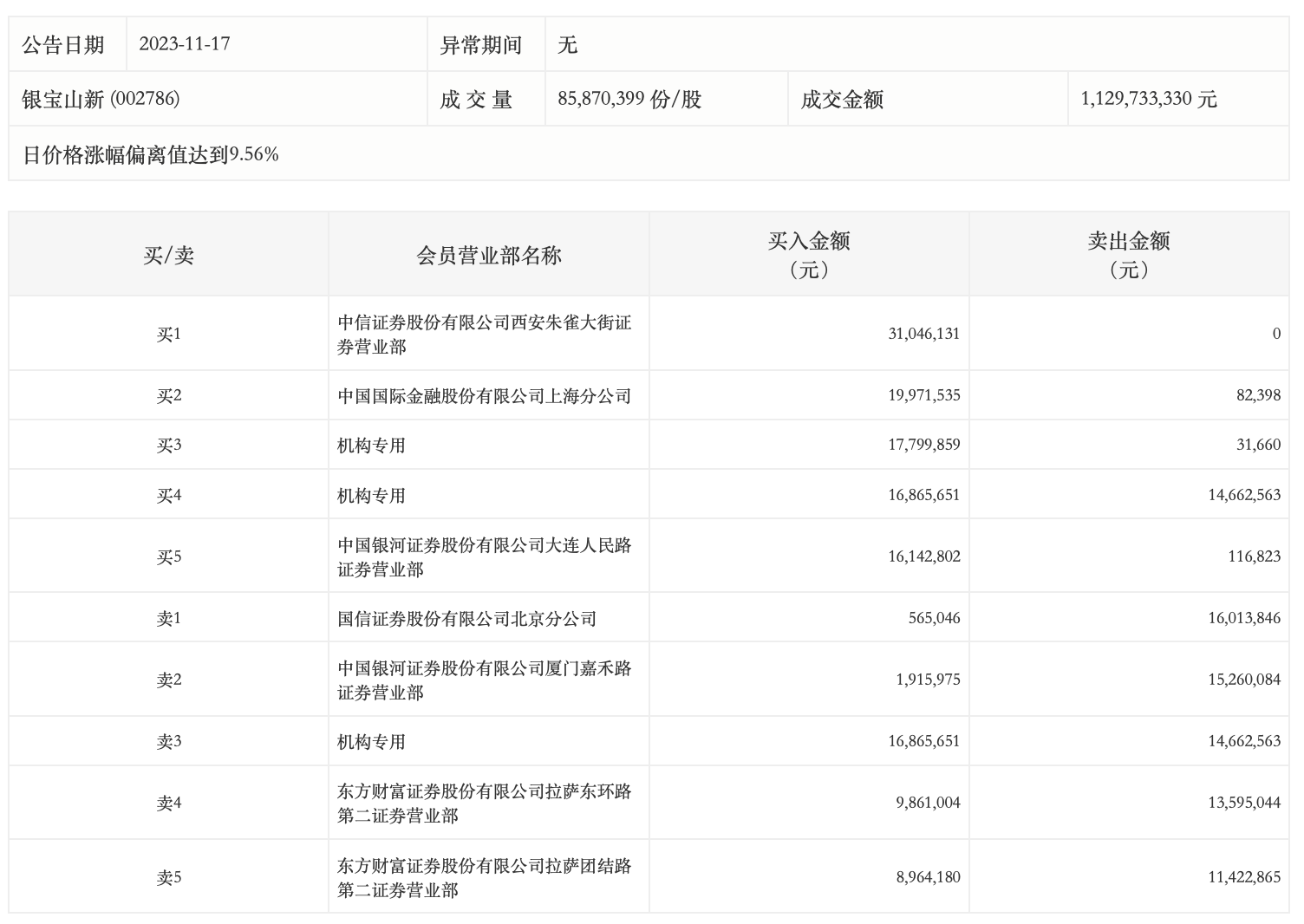
11月17日,银宝山新今日涨停,龙虎榜数据显示,上榜营业部席位全天成交1.94亿元,占当日总成交金额比例为17.2%。其中,买入金额为1.23亿元,卖出金额为7118.53万元,合计净买入5194.69万元。

具体来看,机构买入3466.55万元,卖出1469.42万元,合计净买入1997.13万元。此外,知名游资现身龙虎榜,方新侠(中信证券西安朱雀大街证券营业部)、中国国际金融上海分公司分别买入3104.61万元、1997.15万元;国信证券北京分公司、中国银河证券厦门嘉禾路证券营业部分别卖出1601.38万元、1526.01万元。