龙虎榜丨银宝山新今日跌停,机构合计净卖出3915.44万元

查股网  2023-12-28 22:59  银宝山新(002786)个股分析

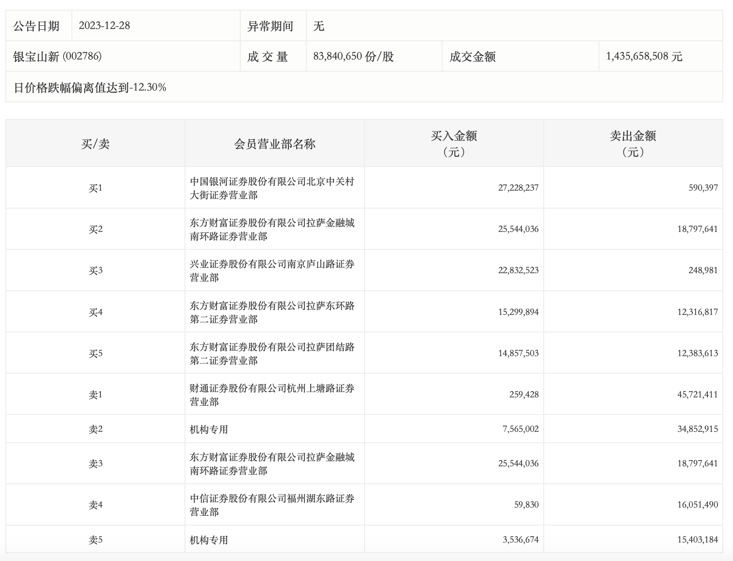
12月28日,银宝山新今日跌停,全天换手率达16.97%,振幅达5.24%。龙虎榜数据显示,营业部席位合计净卖出3918.33万元。其中,机构买入1110.17万元,卖出5025.61万元,合计净卖出3915.44万元。此外,财通证券杭州上塘路证券营业部、东方财富证券拉萨金融城南环路证券营业部分别卖出4572.14万元、1879.76万元;中国银河证券北京中关村大街证券营业部、东方财富证券拉萨金融城南环路证券营业部分别买入2722.82万元、2554.40万元。