查股网.CN
首页
选股
热点
资金
板块
大盘
DDX
游资
龙虎
导航
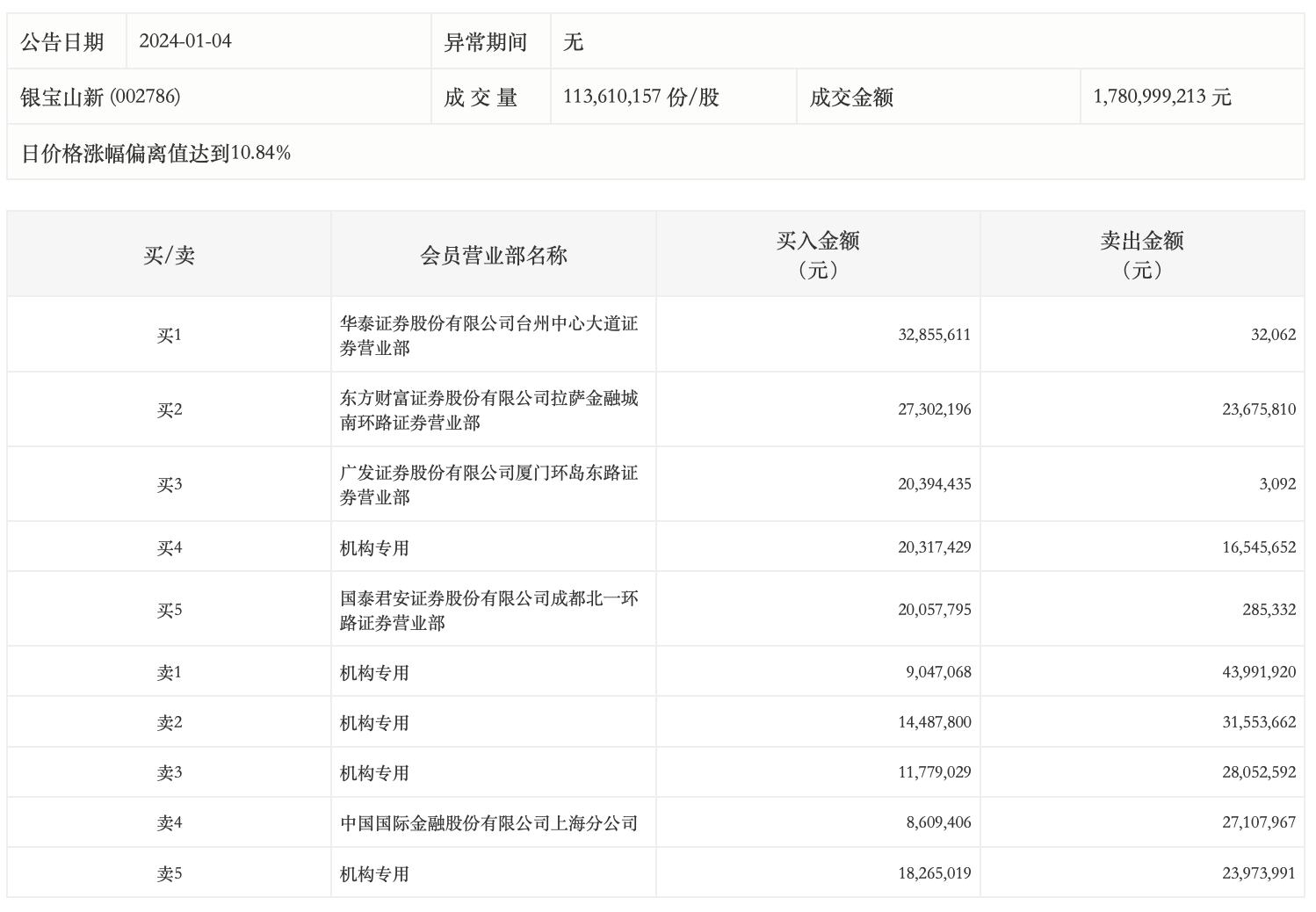
龙虎榜丨银宝山新今日涨停,四机构净卖出7399.32万元
龙虎榜丨银宝山新今日涨停,四机构净卖出7399.32万元
查股网
2024-01-04 16:37
银宝山新(002786)个股分析
1月4日,
银宝山新
今日涨停,成交额17.81亿元,换手率22.99%,盘后龙虎榜数据显示,一机构净买入377.18万元,四机构净卖出7399.32万元。