龙虎榜丨通宇通讯今日涨停,机构合计净买入2027.44万元,“拉萨天团”占四席

http://ddx.gubit.cn  2023-04-24 21:43  通宇通讯(002792)公司分析

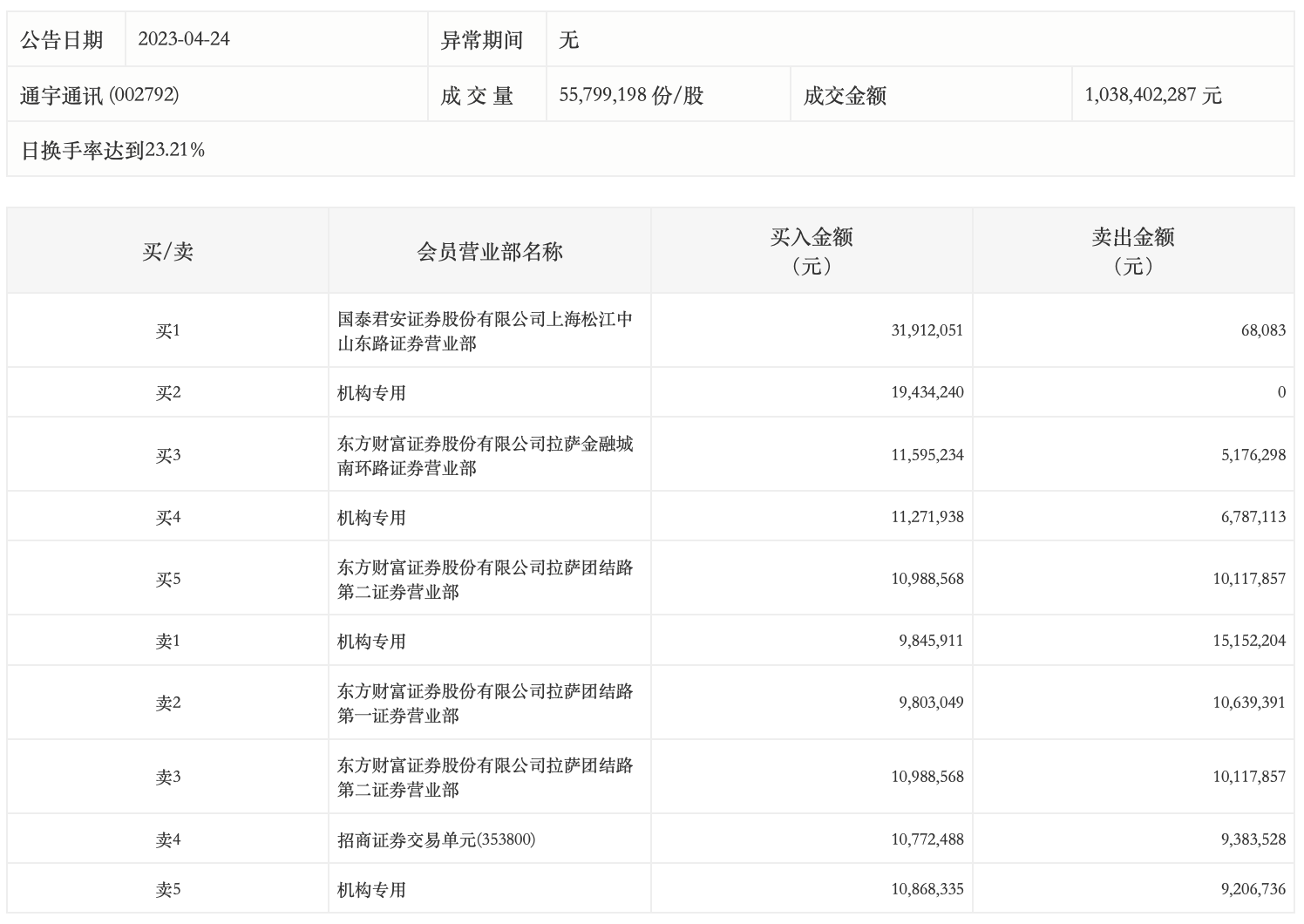
4月24日,通宇通讯今日涨停,龙虎榜数据显示,上榜营业部席位全天成交1.93亿元,占当日总成交金额比例为18.59%。其中,买入金额为1.26亿元,卖出金额为6653.12万元,合计净买入5996.06万元。

具体来看,机构买入5142.04万元,卖出3114.61万元,合计净买入2027.44万元。此外,国泰君安证券上海松江中山东路证券营业部、东方财富证券拉萨金融城南环路证券营业部分别买入3191.21万元、1159.52万元;东方财富证券拉萨团结路第一证券营业部、东方财富证券拉萨团结路第二证券营业部分别卖出1063.94万元、1011.79万元。