永和智控:2024年上半年亏损5623.41万元

中证智能财讯 永和智控(002795)8月30日披露2024年半年度报告。2024年上半年,公司实现营业收入4.21亿元,同比下降15.42%;归母净利润亏损5623.41万元,上年同期亏损2249.45万元;扣非净利润亏损5544.77万元,上年同期亏损2239.15万元;经营活动产生的现金流量净额为-5355.45万元,上年同期为-3077.74万元;报告期内,永和智控基本每股收益为-0.13元,加权平均净资产收益率为-7.32%。
公告称,公司营业收入变化主要由于阀门管件业务市场需求疲软导致收入下降。

以8月29日收盘价计算,永和智控目前市盈率(TTM)约为-7.68倍,市净率(LF)约为1.96倍,市销率(TTM)约为1.67倍。

公司近年市盈率(TTM)、市净率(LF)、市销率(TTM)历史分位图如下所示:



根据半年报,公司第二季度实现营业总收入2.01亿元,同比下降21.98%,环比下降8.85%;归母净利润-3308.37万元,同比下降391.40%,环比下降42.91%;扣非净利润-3245.31万元,同比下降445.30%,环比下降41.13%。

2024年上半年,公司毛利率为15.07%,同比下降10.25个百分点;净利率为-14.14%,较上年同期下降7.21个百分点。从单季度指标来看,2024年第二季度公司毛利率为14.90%,同比下降8.48个百分点,环比下降0.33个百分点;净利率为-17.66%,较上年同期下降11.83个百分点,较上一季度下降6.73个百分点。

数据显示,2024年上半年公司加权平均净资产收益率为-7.32%,较上年同期下降4.67个百分点;公司2024年上半年投入资本回报率为-4.15%,较上年同期下降2.72个百分点。

2024年上半年,公司经营活动现金流净额为-5355.45万元,同比减少2277.71万元,主要系因本期销售商品、提供劳务收到的现金较上年同期减少所致;筹资活动现金流净额8287.84万元,同比减少6031.29万元,主要系因本期吸收投资、取得借款收到的现金较上年同期减少所致;投资活动现金流净额-5165.11万元,上年同期为-1.45亿元,主要系因购建固定资产、无形资产和其他长期资产支付的现金较上年同期减少所致。
进一步统计发现,2024年上半年公司自由现金流为-5405.28万元,上年同期为-19173.22万元。

2024年上半年,公司营业收入现金比为105.57%。

营运能力方面,2024年上半年,公司总资产周转率为0.23次,上年同期为0.31次(2023年上半年行业平均值为0.27次,公司位居同行业31/79);固定资产周转率为0.58次,上年同期为1.15次(2023年上半年行业平均值为1.20次,公司位居同行业42/79);公司应收账款周转率、存货周转率分别为3.06次、1.99次。

2024年上半年,公司期间费用为1.10亿元,较上年同期减少3492.01万元;期间费用率为26.04%,较上年同期下降3.00个百分点。其中,销售费用同比增长3.43%,管理费用同比下降29.6%,研发费用同比下降13.52%,财务费用同比下降71.67%。
资料显示,管理费用的变动主要因为股份支付费用减少;财务费用的变动主要因为本期汇兑收益较上年同期大幅增加。

资产重大变化方面,截至2024年上半年末,公司其他流动资产较上年末减少56.44%,占公司总资产比重下降3.69个百分点;应收账款较上年末增加14.14%,占公司总资产比重上升1.45个百分点;固定资产较上年末减少2.86%,占公司总资产比重上升1.23个百分点;在建工程较上年末增加31.92%,占公司总资产比重上升1.01个百分点。

负债重大变化方面,截至2024年上半年末,公司应付账款较上年末减少18.36%,占公司总资产比重下降2.95个百分点;其他应付款(含利息和股利)较上年末增加24.29%,占公司总资产比重上升2.14个百分点;应付职工薪酬较上年末减少42.82%,占公司总资产比重下降0.91个百分点;应交税费较上年末减少64.50%,占公司总资产比重下降0.45个百分点。

从存货变动来看,截至2024年上半年末,公司存货账面价值为1.65亿元,占净资产的22.25%,较上年末减少2787.98万元。其中,存货跌价准备为1258.95万元,计提比例为7.07%。

在偿债能力方面,公司2024年上半年末资产负债率为57.56%,相比上年末上升0.34个百分点;有息资产负债率为15.31%,相比上年末上升1.72个百分点。

2024年上半年,公司流动比率为0.82,速动比率为0.59。

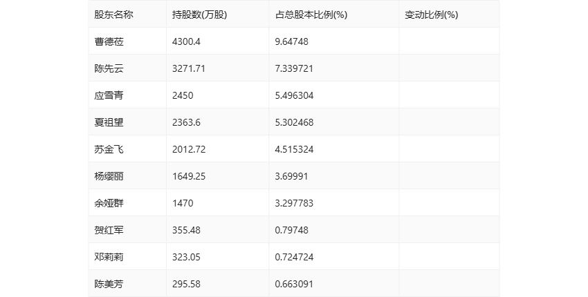
半年报显示,2024年上半年末公司十大流通股东中,新进股东为夏祖望、贺红军、陈美芳,取代了一季度末的徐发江、钟城、王国华。在具体持股比例上,曹德莅持股有所下降。

筹码集中度方面,截至2024年上半年末,公司股东总户数为2.52万户,较一季度末下降了3368户,降幅11.78%;户均持股市值由一季度末的8.12万元下降至6.57万元,降幅为19.09%。

指标注解:
市盈率
=总市值/净利润。当公司亏损时市盈率为负,此时用市盈率估值没有实际意义,往往用市净率或市销率做参考。
市净率
=总市值/净资产。市净率估值法多用于盈利波动较大而净资产相对稳定的公司。
市销率
=总市值/营业收入。市销率估值法通常用于亏损或微利的成长型公司。
文中市盈率和市销率采用TTM方式,即以截至最近一期财报(含预报)12个月的数据计算。市净率采用LF方式,即以最近一期财报数据计算。
市盈率为负时,不显示当期分位数,会导致折线图中断。