龙虎榜丨世嘉科技今日跌1.25%,机构合计净卖出234.52万元

http://ddx.gubit.cn  2023-03-14 20:58  世嘉科技(002796)公司分析

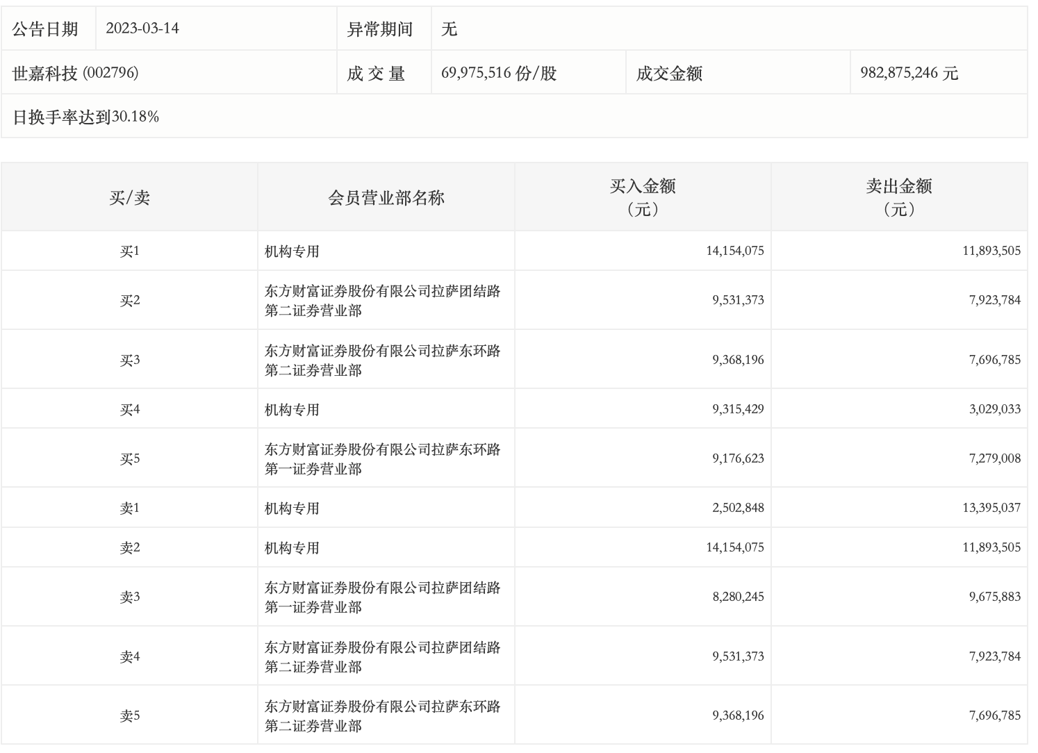
3月14日,世嘉科技今日跌1.25%,龙虎榜数据显示,上榜营业部席位全天成交1.23亿元,占当日总成交金额比例为12.54%。其中,买入金额为6232.88万元,卖出金额为6089.3万元,合计净买入143.58万元。

具体来看,机构买入2597.24万元,卖出2831.76万元,合计净卖出234.52万元。此外,东方财富证券拉萨团结路第一证券营业部、东方财富证券拉萨团结路第二证券营业部分别卖出967.59万元、792.38万元;东方财富证券拉萨团结路第二证券营业部、东方财富证券拉萨东环路第二证券营业部分别买入953.14万元、936.82万元。