龙虎榜丨第一创业今日涨停,机构净买入1.18亿元

查股网  2024-11-05 21:15  第一创业(002797)个股分析

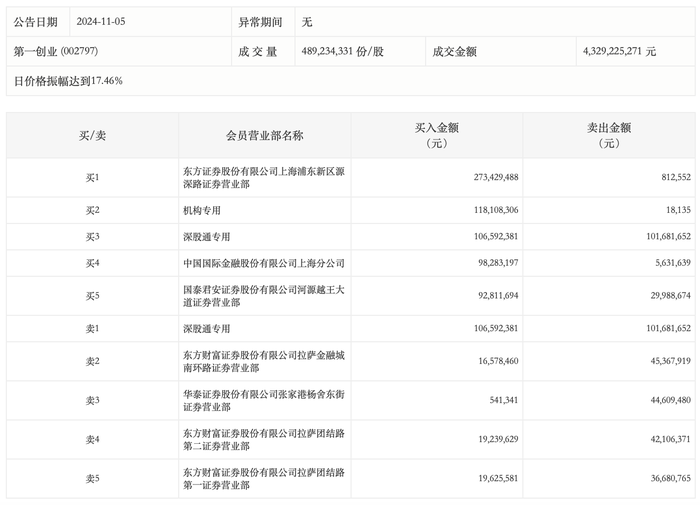
11月5日,第一创业今日涨停,龙虎榜数据显示,上榜营业部席位全天成交10.52亿元,占当日总成交金额比例为24.3%。其中,买入金额为7.45亿元,卖出金额为3.07亿元,合计净买入4.38亿元。

具体来看,机构买入1.18亿元,卖出1.81万元,合计净买入1.18亿元。此外,东方证券上海浦东新区源深路证券营业部、深股通专用分别买入2.73亿元、1.07亿元;深股通专用、东方财富证券拉萨金融城南环路证券营业部分别卖出1.02亿元、4536.79万元。