龙虎榜丨恒久科技今日涨1.32%,机构合计净卖出3228.3万元

http://ddx.gubit.cn  2023-03-14 20:57  恒久科技(002808)公司分析

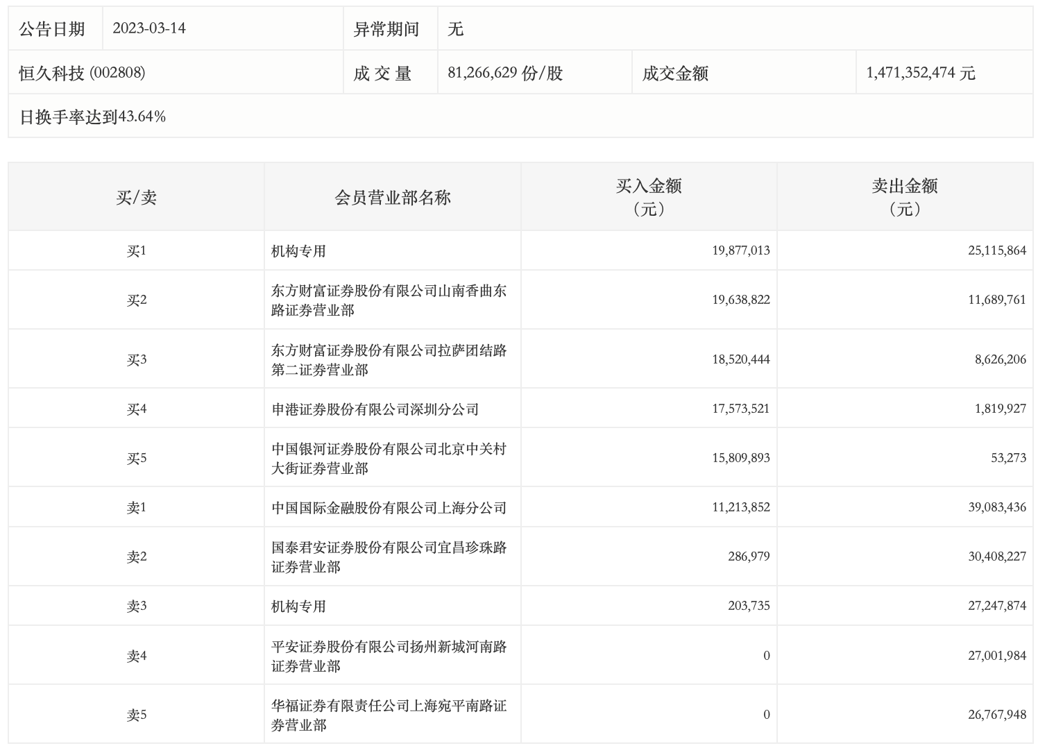
3月14日,恒久科技今日涨1.32%,龙虎榜数据显示,上榜营业部席位全天成交3.01亿元,占当日总成交金额比例为20.45%。其中,买入金额为1.03亿元,卖出金额为1.98亿元,合计净卖出9469.02万元。

具体来看,机构买入2008.07万元,卖出5236.37万元,合计净卖出3228.3万元。此外,东方财富证券山南香曲东路证券营业部、东方财富证券拉萨团结路第二证券营业部分别买入1963.88万元、1852.04万元;中国国际金融上海分公司、国泰君安证券宜昌珍珠路证券营业部分别卖出3908.34万元、3040.82万元。