龙虎榜丨东方中科今日跌停,营业部席位合计净卖出1226.52万元

查股网  2024-01-09 17:02  东方中科(002819)个股分析

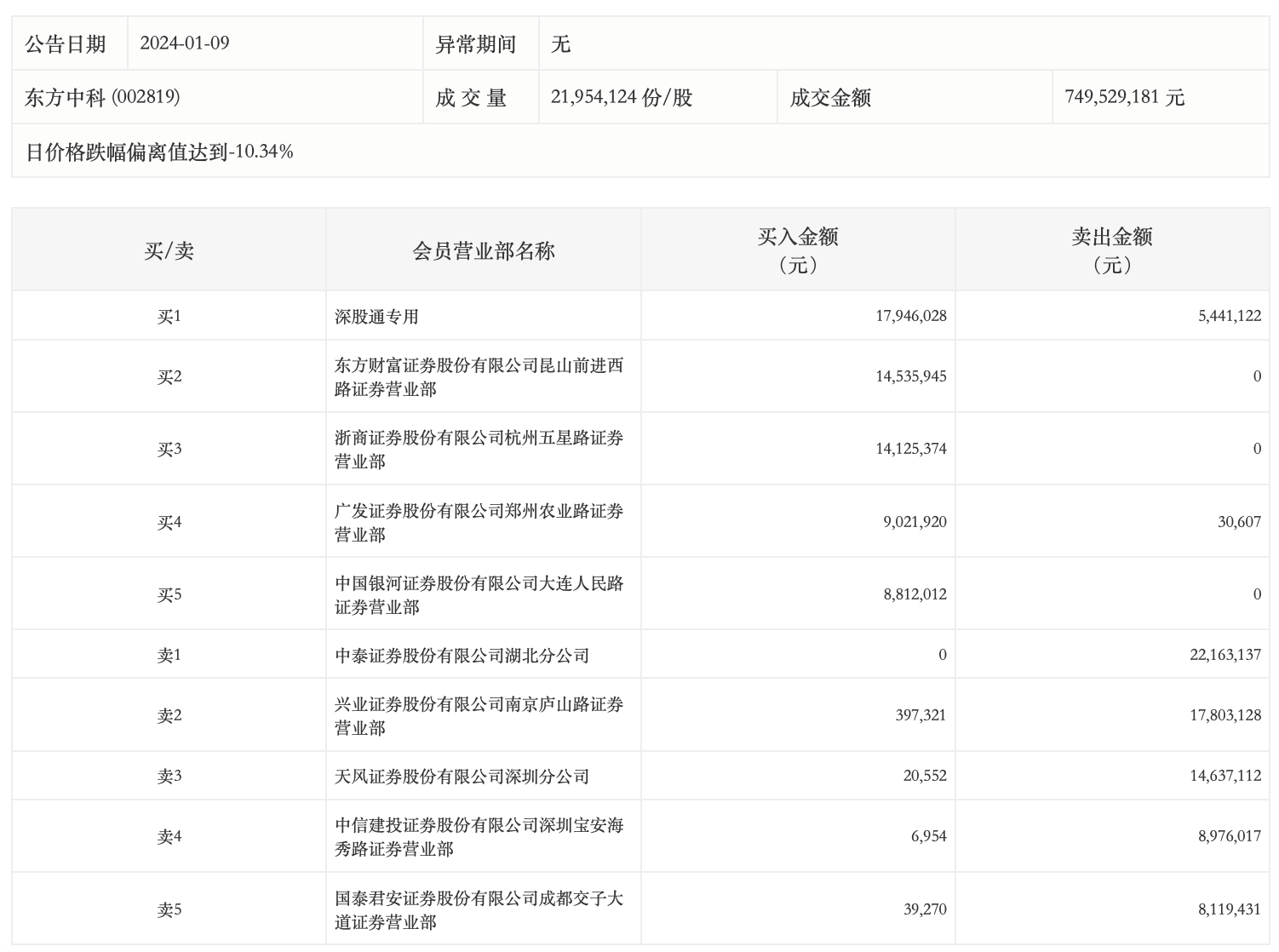
1月9日,东方中科今日跌停,全天换手率达9.36%,振幅达7.43%。龙虎榜数据显示,营业部席位合计净卖出1226.52万元。其中,中泰证券湖北分公司、兴业证券南京庐山路证券营业部分别卖出2216.31万元、1780.31万元;深股通专用、东方财富证券昆山前进西路证券营业部分别买入1794.60万元、1453.59万元。