东方中科:2024年上半年亏损5205.47万元

中证智能财讯 东方中科(002819)8月30日披露2024年半年报。2024年上半年,公司实现营业总收入13.48亿元,同比下降2.42%;归母净利润亏损5205.47万元,上年同期亏损6025.73万元;扣非净利润亏损6093.61万元,上年同期亏损7012.61万元;经营活动产生的现金流量净额为-1.21亿元,上年同期为-4.24亿元;报告期内,东方中科基本每股收益为-0.1746元,加权平均净资产收益率为-1.75%。

以8月29日收盘价计算,东方中科目前市盈率(TTM)约为-82.2倍,市净率(LF)约为2.17倍,市销率(TTM)约为2.13倍。

公司近年市盈率(TTM)、市净率(LF)、市销率(TTM)历史分位图如下所示:



根据半年报,公司第二季度实现营业总收入6.94亿元,同比下降7.27%,环比增长6.21%;归母净利润-2370.63万元,同比增长11.66%,环比增长16.38%;扣非净利润-3009.74万元,同比增长4.84%,环比增长2.40%。

资料显示,公司主要业务为通用测试业务、(新能源)汽车测试业务、专业服务业务三大业务领域。
分产品来看,2024年上半年公司主营业务中,通用测试业务收入9.39亿元,同比下降6.50%,占营业收入的69.64%;(新能源)汽车测试业务收入1.84亿元,同比下降6.29%,占营业收入的13.68%;政务集成业务收入1.01亿元,同比增长21.93%,占营业收入的7.50%。

2024年上半年,公司毛利率为20.51%,同比上升1.42个百分点;净利率为-5.78%,较上年同期上升1.16个百分点。从单季度指标来看,2024年第二季度公司毛利率为20.85%,同比上升0.50个百分点,环比上升0.70个百分点;净利率为-5.32%,较上年同期上升0.29个百分点,较上一季度上升0.95个百分点。

分产品看,通用测试业务、(新能源)汽车测试业务、政务集成业务2024年上半年毛利率分别为11.74%、39.23%、25.38%。
数据显示,2024年上半年公司加权平均净资产收益率为-1.75%,较上年同期增长0.06个百分点;公司2024年上半年投入资本回报率为-2.33%,较上年同期增长0.55个百分点。

2024年上半年,公司经营活动现金流净额为-1.21亿元,同比增加3.03亿元;筹资活动现金流净额-3495.81万元,同比减少2313.32万元;投资活动现金流净额-4.49亿元,上年同期为2780.63万元。
进一步统计发现,2024年上半年公司自由现金流为-5.99亿元,上年同期为-3.37亿元。

2024年上半年,公司营业收入现金比为187.69%。

营运能力方面,2024年上半年,公司总资产周转率为0.29次,上年同期为0.28次(2023年上半年行业平均值为0.18次,公司位居同行业9/59);公司应收账款周转率、存货周转率分别为1.46次、2.24次。

2024年上半年,公司期间费用为3.57亿元,较上年同期减少1744.03万元;期间费用率为26.52%,较上年同期下降0.62个百分点。其中,销售费用同比下降4.73%,管理费用同比下降12.44%,研发费用同比下降1.33%,财务费用由去年同期的-750.43万元变为-132.66万元。

资产重大变化方面,截至2024年上半年末,公司货币资金较上年末减少72.84%,占公司总资产比重下降13.79个百分点;交易性金融资产较上年末增加57.46%,占公司总资产比重上升10.13个百分点;应收账款较上年末增加12.09%,占公司总资产比重上升3.03个百分点;预付款项较上年末减少38.66%,占公司总资产比重下降0.83个百分点。

负债重大变化方面,截至2024年上半年末,公司其他应付款(含利息和股利)较上年末增加10.15%,占公司总资产比重上升1.18个百分点;应付账款较上年末减少7.07%,占公司总资产比重下降0.16个百分点;应付职工薪酬较上年末减少40.41%,占公司总资产比重下降0.22个百分点;其他流动负债较上年末减少13.35%,占公司总资产比重下降0.15个百分点。

从存货变动来看,截至2024年上半年末,公司存货账面价值为4.63亿元,占净资产的15.89%,较上年末减少2969.72万元。其中,存货跌价准备为4188.08万元,计提比例为8.29%。

在偿债能力方面,公司2024年上半年末资产负债率为28.84%,相比上年末下降0.26个百分点;有息资产负债率为2.67%,相比上年末上升0.19个百分点。

2024年上半年,公司流动比率为2.95,速动比率为2.59。

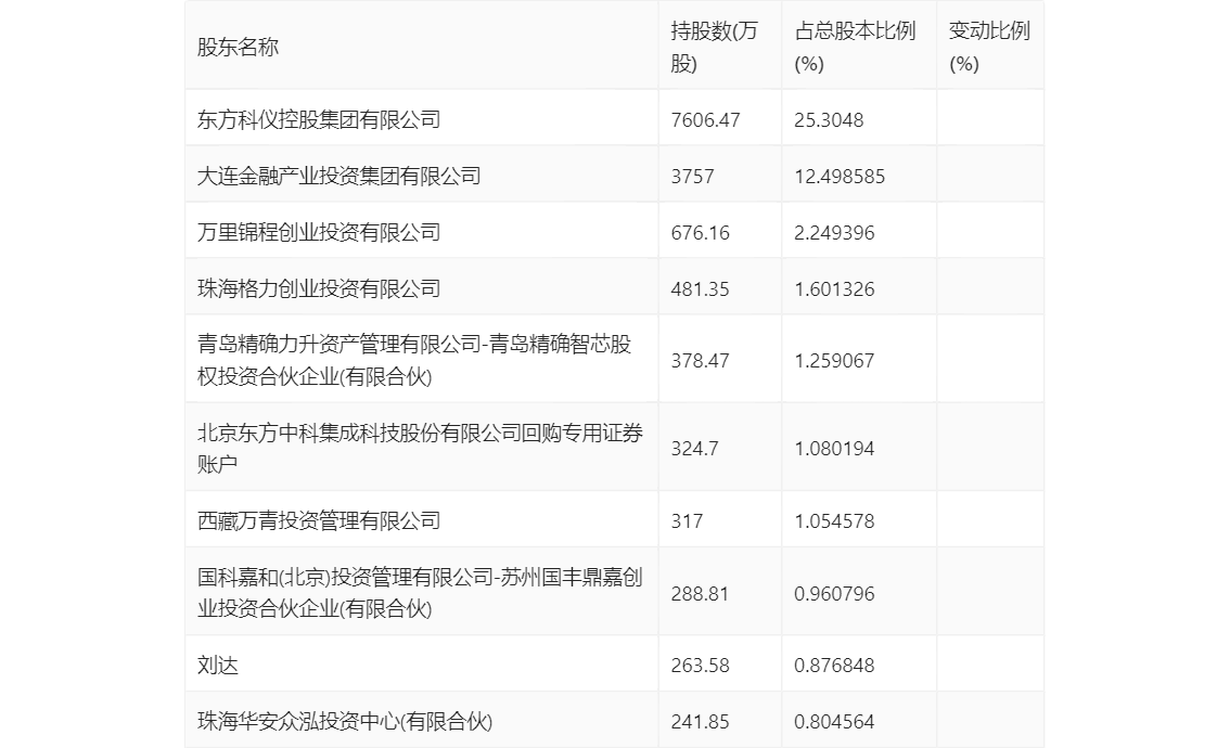
半年报显示,2024年上半年末公司十大流通股东中,新进股东为北京东方中科集成科技股份有限公司回购专用证券账户,取代了一季度末的珠海大横琴创新发展有限公司。在具体持股比例上,东方科仪控股集团有限公司、大连金融产业投资集团有限公司、万里锦程创业投资有限公司、珠海格力创业投资有限公司、青岛精确力升资产管理有限公司-青岛精确智芯股权投资合伙企业(有限合伙)、西藏万青投资管理有限公司、国科嘉和(北京)投资管理有限公司-苏州国丰鼎嘉创业投资合伙企业(有限合伙)、刘达、珠海华安众泓投资中心(有限合伙)持股有所下降。

筹码集中度方面,截至2024年上半年末,公司股东总户数为2.06万户,较一季度末下降了4964户,降幅19.38%;户均持股市值由一季度末的29.72万元上升至30.69万元,增幅为3.26%。

指标注解:
市盈率
=总市值/净利润。当公司亏损时市盈率为负,此时用市盈率估值没有实际意义,往往用市净率或市销率做参考。
市净率
=总市值/净资产。市净率估值法多用于盈利波动较大而净资产相对稳定的公司。
市销率
=总市值/营业收入。市销率估值法通常用于亏损或微利的成长型公司。
文中市盈率和市销率采用TTM方式,即以截至最近一期财报(含预报)12个月的数据计算。市净率采用LF方式,即以最近一期财报数据计算。
市盈率为负时,不显示当期分位数,会导致折线图中断。