生物医药板块走强!凯莱英领涨成份股,生物医药ETF基金(159508)盘中涨超2%
生物医药板块走强!
截至11:05,关联指数国证生物医药指数成份股中,凯莱英上涨7.6%,康龙化成上涨6.84%,荣昌生物、博腾股份等个股跟涨。

消息面上,9月14日,凯莱英在互动平台表示称,公司关注科学发展前沿、前瞻性布局新技术,设立合成生物技术研发中心(CSBT)并已建立成熟的从分子生物学(重组表达)开始的一站式合成生物服务能力,目前主要聚焦于制药及生命科学领域。公司已搭建完成合成生物技术平台,具有深厚基础学科研究及技术积累,并可拓展至其他广泛应用领域。
ETF方面,截至11:05,跟踪国证生物医药指数的生物医药ETF基金(159508)今日已涨2.57%,成交额持续扩大,市场交投活跃。

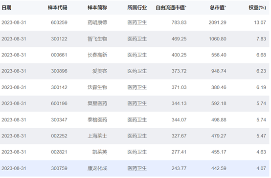
国证生物医药指数以沪深北交易所属于生物医药产业相关上市公司为样本空间,根据市值规模和流动性的综合排名,选出前30只证券作为指数样本股,反映了生物医药行业的整体运行情况,向市场提供了细分行业的指数化投资标的。

数据显示,截至2023年8月31日,该指数前十大权重股包括药明康德、智飞生物、长春高新、爱美客、沃森生物等,第一大权重股占比13.07%。(数据来源:国证指数公司,指数成份股不代表个股推荐)
兴业证券分析认为:人工老龄化趋势严重叠加全球医疗支出稳步增长等要素构建生物医药行业核心驱动力,其中,生物药为各大疾病治疗预防、治疗、诊断带来革命性改变。