龙虎榜丨贝肯能源今日涨停,机构合计净买入2877.36万元

http://ddx.gubit.cn  2023-09-28 22:27  贝肯能源(002828)公司分析

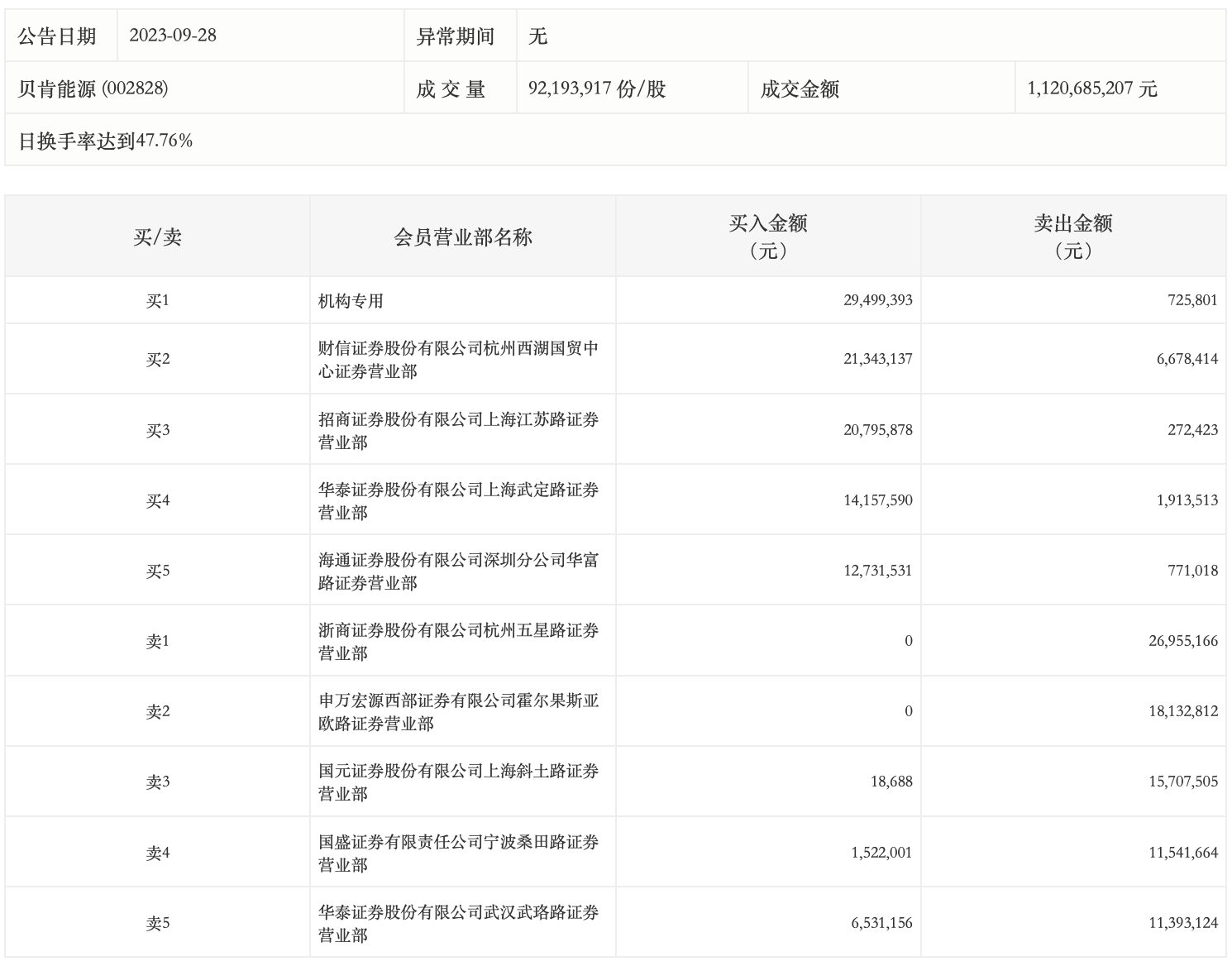
9月28日,贝肯能源今日涨停,全天换手率达47.76%,振幅达13.81%。龙虎榜数据显示,营业部席位合计净买入1250.79万元。其中,机构买入2949.94万元,卖出72.58万元,合计净买入2877.36万元。此外,财信证券杭州西湖国贸中心证券营业部、招商证券上海江苏路证券营业部分别买入2134.31万元、2079.59万元;浙商证券杭州五星路证券营业部、申万宏源西部证券有限公司霍尔果斯亚欧路证券营业部分别卖出2695.52万元、1813.28万元。