龙虎榜丨同为股份今日涨停,机构合计净买入120.82万元

http://ddx.gubit.cn  2023-06-29 16:41  同为股份(002835)公司分析

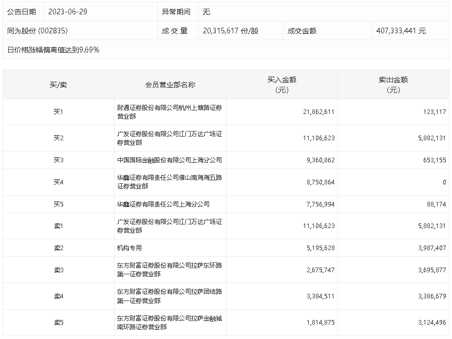
6月29日,同为股份今日涨停,龙虎榜数据显示,上榜营业部席位全天成交9284.98万元,占当日总成交金额比例为22.79%。其中,买入金额为7190.87万元,卖出金额为2094.1万元,合计净买入5096.77万元。

具体来看,机构买入519.56万元,卖出398.74万元,合计净买入120.82万元。此外,财通证券杭州上塘路证券营业部、广发证券江门万达广场证券营业部分别买入2186.26万元、1110.66万元;广发证券江门万达广场证券营业部、东方财富证券拉萨东环路第一证券营业部分别卖出588.21万元、369.59万元。