龙虎榜丨钧达股份今日涨停,华泰证券上海武定路营业部净卖出1.45亿元

查股网  2023-12-28 16:36  钧达股份(002865)个股分析

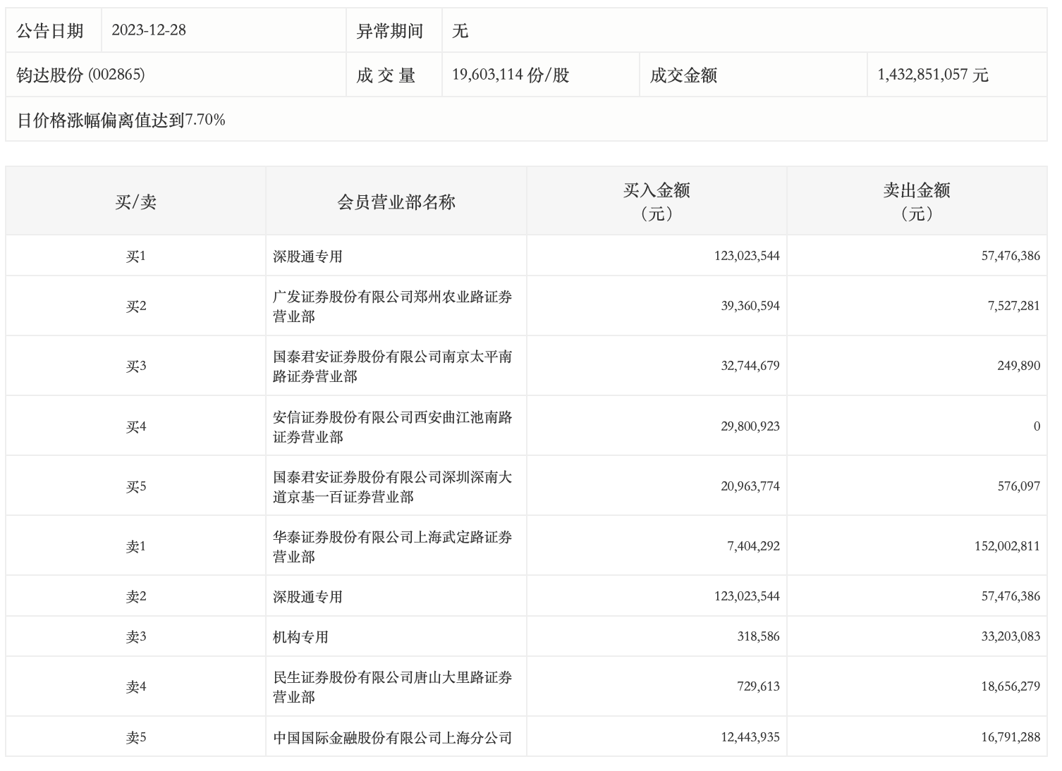
12月28日,钧达股份今日涨停,成交额14.33亿元,换手率8.81%,盘后龙虎榜数据显示,深股通专用席位买入1.23亿元并卖出5747.64万元,作手新一(国泰君安证券南京太平南路证券营业部)席位净买入3249.48万元,华泰证券上海武定路营业部净卖出1.45亿元,一机构净卖出3288.45万元。