龙虎榜丨钧达股份今日涨停,知名游资作手新一净买入3249.48万元

查股网  2023-12-28 22:52  钧达股份(002865)个股分析

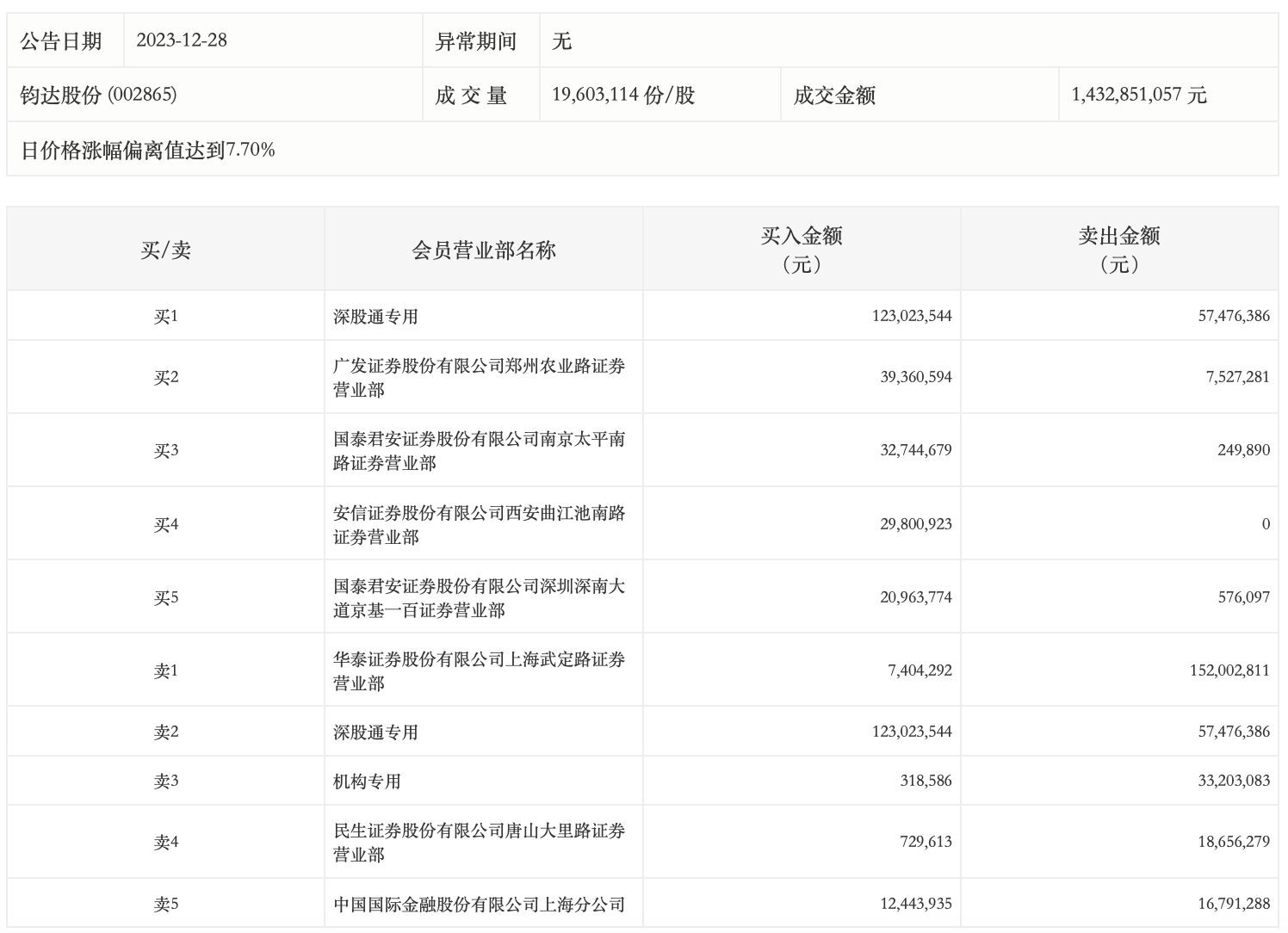
12月28日,钧达股份今日涨停,龙虎榜数据显示,上榜营业部席位全天成交5.53亿元,占当日总成交金额比例为38.61%。其中,买入金额为2.67亿元,卖出金额为2.86亿元,合计净卖出1969.32万元。

具体来看,机构买入31.86万元,卖出3320.31万元,合计净卖出3288.45万元。此外,知名游资现身龙虎榜,作手新一(国泰君安证券股份有限公司南京太平南路证券营业部)净买入3249.48万元。此外,深股通专用、广发证券郑州农业路证券营业部分别买入1.23亿元、3936.06万元;华泰证券上海武定路证券营业部、深股通专用分别卖出1.52亿元、5747.64万元。