龙虎榜丨传艺科技今日涨停,机构合计净卖出368.64万元

http://ddx.gubit.cn  2023-09-05 20:24  传艺科技(002866)公司分析

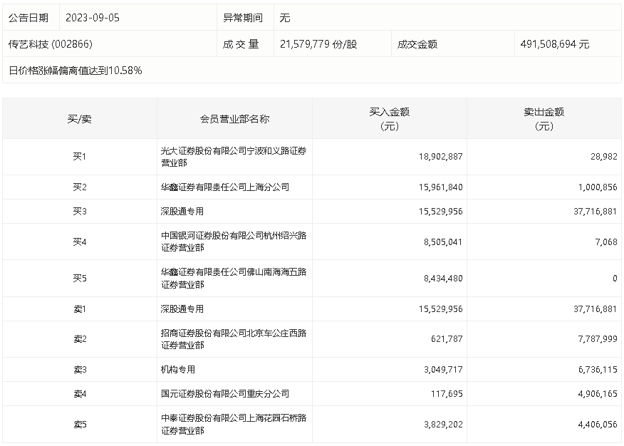
9月5日,传艺科技今日涨停,龙虎榜数据显示,上榜营业部席位全天成交1.38亿元,占当日总成交金额比例为27.98%。其中,买入金额为7495.26万元,卖出金额为6259.01万元,合计净买入1236.25万元。

具体来看,机构买入304.97万元,卖出673.61万元,合计净卖出368.64万元。此外,光大证券宁波和义路证券营业部、华鑫证券上海分公司分别买入1890.29万元、1596.18万元;深股通专用、招商证券北京车公庄西路证券营业部分别卖出3771.69万元、778.80万元。