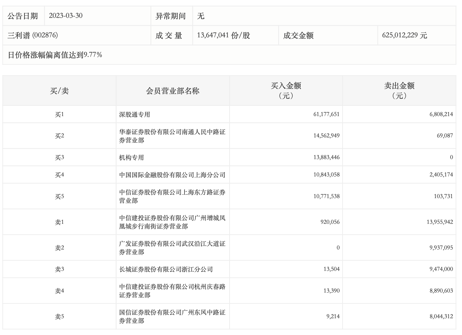
龙虎榜丨三利谱今日涨停,机构合计净买入1388.34万元,深股通买入6117.77万元并卖出680.82万元

http://ddx.gubit.cn  2023-03-30 17:08  三利谱(002876)公司分析

3月30日,三利谱今日涨停,龙虎榜数据显示,上榜营业部席位全天成交1.72亿元,占当日总成交金额比例为27.5%。其中,买入金额为1.12亿元,卖出金额为5968.82万元,合计净买入5250.66万元。

具体来看,机构合计净买入1388.34万元。此外,深股通专用、华泰证券南通人民中路证券营业部分别买入6117.77万元、1456.29万元;中信建投证券广州增城凤凰城步行南街证券营业部、广发证券武汉沿江大道证券营业部分别卖出1395.59万元、993.71万元。