龙虎榜丨中设股份今日跌停,营业部席位合计净卖出2006.63万元

查股网  2024-02-06 16:35  中设股份(002883)个股分析

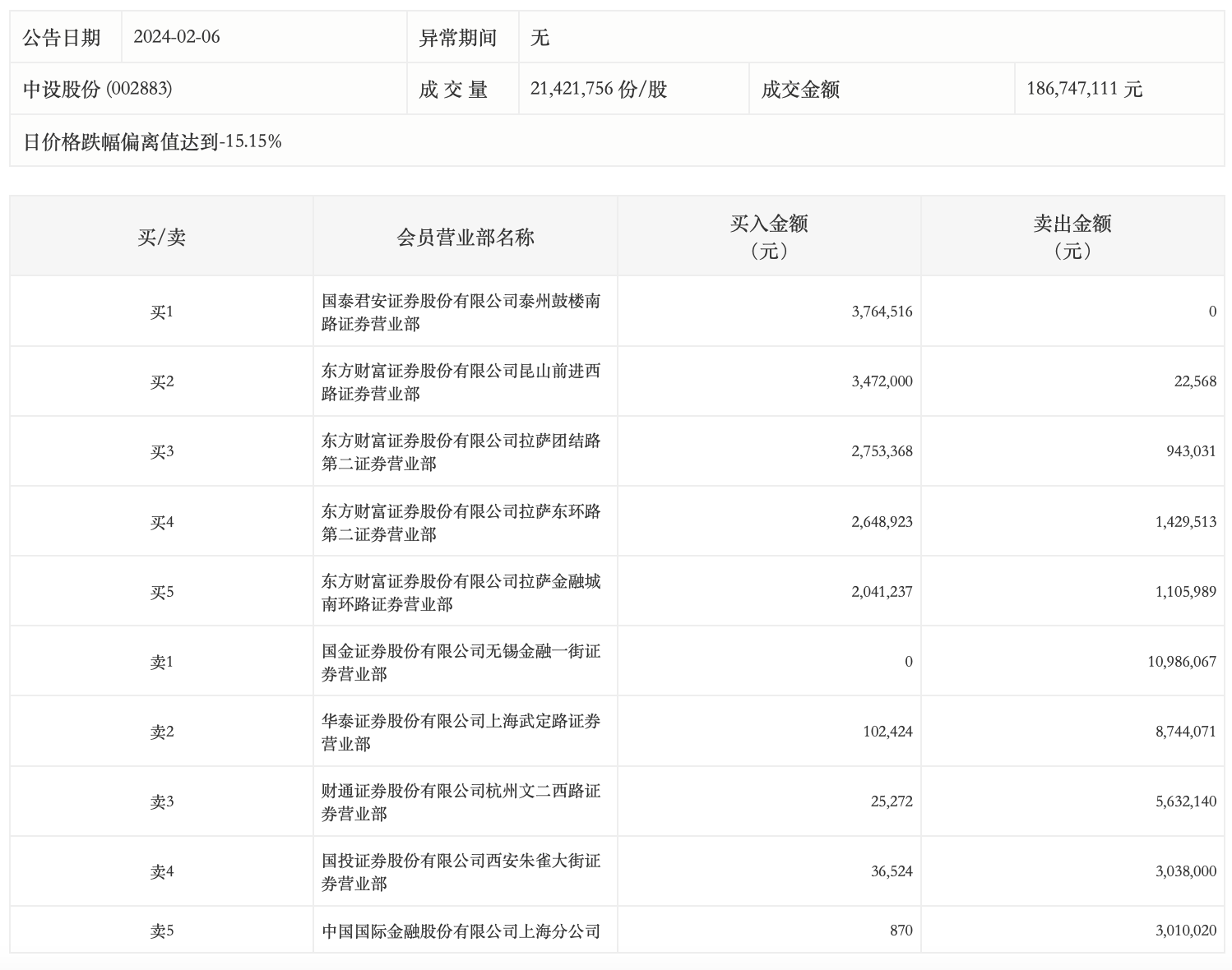
2月6日,中设股份今日跌停,全天换手率达15.82%,振幅达3.94%。龙虎榜数据显示,营业部席位合计净卖出2006.63万元。其中,国金证券无锡金融一街证券营业部、华泰证券上海武定路证券营业部分别卖出1098.61万元、874.41万元;国泰君安证券泰州鼓楼南路证券营业部、东方财富证券昆山前进西路证券营业部分别买入376.45万元、347.20万元。