龙虎榜丨中大力德今日跌3.69%,机构合计净卖出1.79亿元

http://ddx.gubit.cn  2023-06-21 16:38  中大力德(002896)公司分析

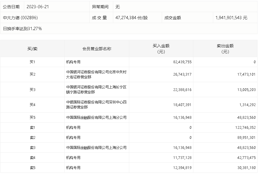
6月21日,中大力德今日跌3.69%,龙虎榜数据显示,上榜营业部席位全天成交5.57亿元,占当日总成交金额比例为28.67%。其中,买入金额为1.9亿元,卖出金额为3.66亿元,合计净卖出1.76亿元。

具体来看,机构买入1.07亿元,卖出2.86亿元,合计净卖出1.79亿元。此外,中国国际金融上海分公司、中国银河证券北京中关村大街证券营业部分别卖出4882.36万元、1747.31万元;中国银河证券北京中关村大街证券营业部、中国银河证券上海长宁区镇宁路证券营业部分别买入2674.33万元、2238.86万元。