龙虎榜丨铭普光磁今日涨6.64%,知名游资赵老哥买入4676.36万元

http://ddx.gubit.cn  2023-06-15 16:35  铭普光磁(002902)公司分析

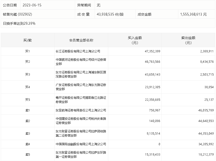
6月15日,铭普光磁今日涨6.64%,龙虎榜数据显示,上榜营业部席位全天成交4.1亿元,占当日总成交金额比例为26.38%。其中,买入金额为2.09亿元,卖出金额为2.01亿元,合计净买入856.01万元。

具体来看,知名游资现身龙虎榜,长江证券上海分公司、赵老哥(中国银河证券绍兴证券营业部)分别买入4735.24万元、4676.36万元;东亚前海证券上海分公司、中信建投证券杭州庆春路证券营业部分别卖出4603.58万元、4464.06万元。