查股网.CN
首页
选股
热点
资金
板块
大盘
DDX
游资
龙虎
导航
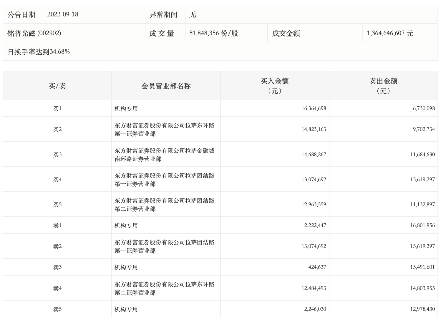
龙虎榜丨铭普光磁今日跌停,三机构净卖出4037.89万元
龙虎榜丨铭普光磁今日跌停,三机构净卖出4037.89万元
http://ddx.gubit.cn
2023-09-18 16:46
铭普光磁(002902)公司分析
9月18日,
铭普光磁
今日跌停,成交额13.65亿元,换手率34.68%,盘后龙虎榜数据显示,一机构净买入963.46万元,三机构净卖出4037.89万元。