龙虎榜丨华阳集团今日涨停,机构合计净买入582.35万元

查股网  2023-11-23 19:35  华阳集团(002906)个股分析

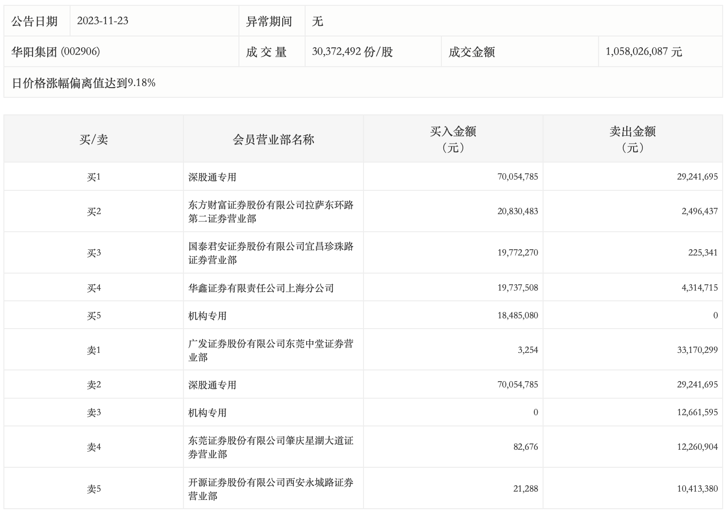
11月23日,华阳集团今日涨停,全天换手率达6.36%,振幅达10.76%。龙虎榜数据显示,营业部席位合计净买入4420.3万元。其中,机构买入1848.51万元,卖出1266.16万元,合计净买入582.35万元。此外,深股通专用、东方财富证券拉萨东环路第二证券营业部分别买入7005.48万元、2083.05万元;广发证券东莞中堂证券营业部、深股通专用分别卖出3317.03万元、2924.17万元。