中欣氟材:9月2日高管袁其亮、陈寅镐、袁少岚减持股份合计29.8万股
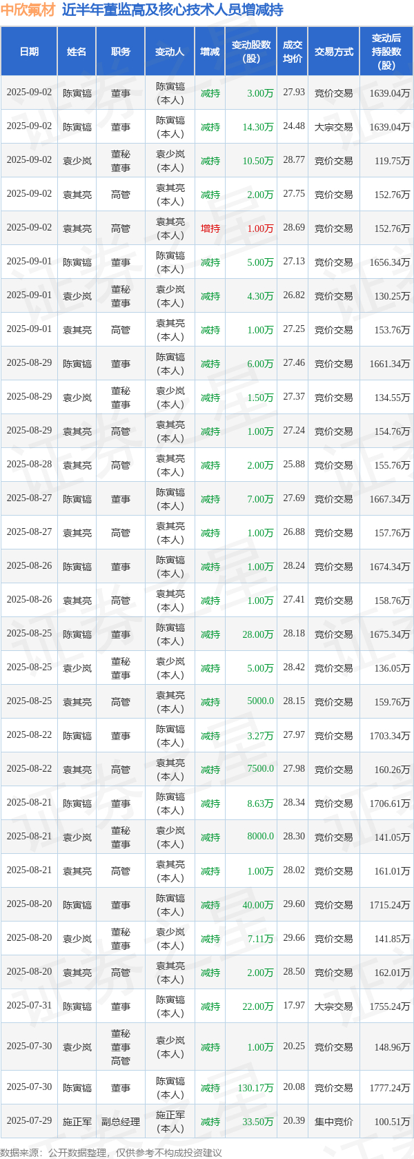
证券之星消息,根据9月3日市场公开信息、上市公司公告及交易所披露数据整理,中欣氟材(002915)最新董监高及相关人员股份变动情况:2025年9月2日公司高管袁其亮、董事陈寅镐、董秘,董事袁少岚共减持公司股份29.8万股,占公司总股本为0.0915%。变动期间公司股价上涨6.32%,9月2日当日收盘报28.92元。
中欣氟材近半年内的董监高及核心技术人员增减持详情如下:

中欣氟材的高管列表及最新持股情况如下:

融资融券数据显示该股近5日融资净流入4076.83万,融资余额增加;融券净流入100.0,融券余额增加。
该股最近90天内共有1家机构给出评级,买入评级1家。
以上内容为证券之星据公开信息整理,由AI算法生成(网信算备310104345710301240019号),不构成投资建议。