查股网.CN
首页
选股
热点
资金
板块
大盘
DDX
游资
龙虎
导航
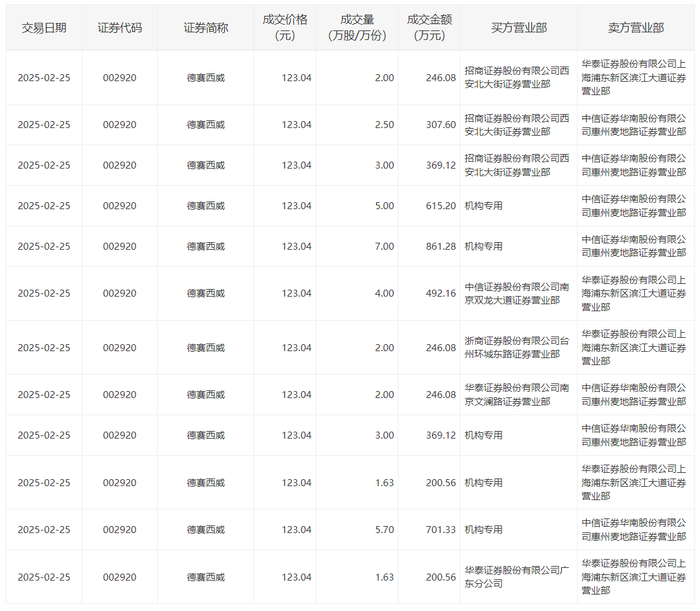
德赛西威今日大宗交易折价成交39.46万股,成交额4855.17万元
德赛西威今日大宗交易折价成交39.46万股,成交额4855.17万元
查股网
2025-02-25 20:53
德赛西威(002920)个股分析
德赛西威
2月25日大宗交易成交39.46万股,成交额4855.17万元,占当日总成交额的3.59%,成交价123.04元,较市场收盘价133.85元折价8.08%。