新疆交建:2024年第一季度亏损1314.23万元

中证智能财讯 新疆交建(002941)4月30日披露2024年一季报。2024年第一季度,公司实现营业总收入3.98亿元,同比下降0.11%;归母净利润亏损1314.23万元,上年同期盈利692.66万元;扣非净利润亏损1722.69万元,上年同期盈利371.97万元;经营活动产生的现金流量净额为-12.93亿元,上年同期为-8.56亿元;报告期内,新疆交建基本每股收益为-0.02元,加权平均净资产收益率为-0.41%。


2024年第一季度,公司毛利率为8.06%,同比上升1.92个百分点;净利率为-4.36%,较上年同期下降4.66个百分点。

数据显示,2024年第一季度公司加权平均净资产收益率为-0.41%,较上年同期下降0.65个百分点;公司2024年第一季度投入资本回报率为0.12%,较上年同期增长0.09个百分点。

2024年第一季度,公司经营活动现金流净额为-12.93亿元,同比减少4.37亿元;筹资活动现金流净额5798.82万元,同比增加4.69亿元;投资活动现金流净额236.59万元,上年同期为-4795.83万元。

2024年第一季度,公司营业收入现金比为228.05%。

资产重大变化方面,截至2024年一季度末,公司货币资金较上年末减少32.82%,占公司总资产比重下降5.57个百分点;其他非流动资产较上年末增加0.72%,占公司总资产比重上升3.07个百分点;合同资产较上年末减少0.19%,占公司总资产比重上升1.29个百分点;其他流动资产较上年末减少44.56%,占公司总资产比重下降1.04个百分点。

负债重大变化方面,截至2024年一季度末,公司应付账款较上年末减少33.52%,占公司总资产比重下降6.57个百分点;合同负债较上年末增加7.08%,占公司总资产比重上升1.46个百分点;应付职工薪酬较上年末减少63.42%,占公司总资产比重下降0.53个百分点;长期借款较上年末增加2.11%,占公司总资产比重上升2.52个百分点。

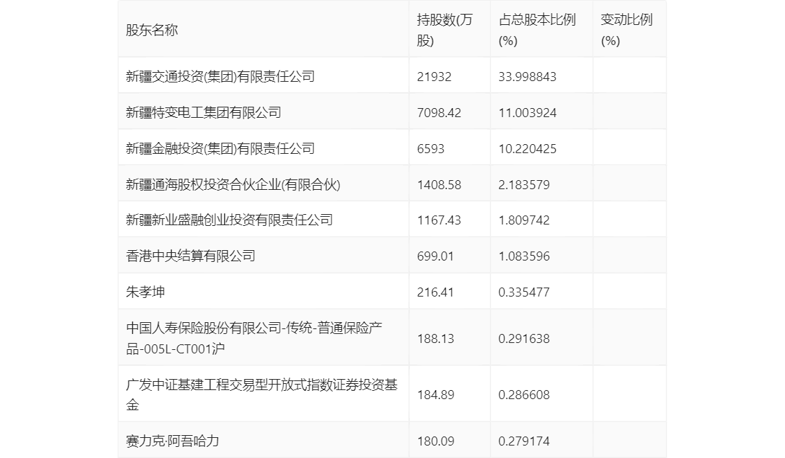
一季报显示,2024年一季度末公司十大流通股东中,新进股东为中国人寿保险股份有限公司-传统-普通保险产品-005L-CT001沪、赛力克·阿吾哈力,取代了上年末的中信证券股份有限公司、梁钧荣。在具体持股比例上,新疆新业盛融创业投资有限责任公司、朱孝坤持股有所上升,新疆交通投资(集团)有限责任公司、新疆特变电工集团有限公司、新疆金融投资(集团)有限责任公司、香港中央结算有限公司、广发中证基建工程交易型开放式指数证券投资基金持股有所下降。

筹码集中度方面,截至2024年一季度末,公司股东总户数为5.38万户,较上年末下降了1387户,降幅2.52%;户均持股市值由上年末的15.23万元下降至13.83万元,降幅为9.19%。
