龙虎榜丨亚世光电今日涨停,知名游资炒股养家净买入1063.17万元

查股网  2024-02-21 16:58  亚世光电(002952)个股分析

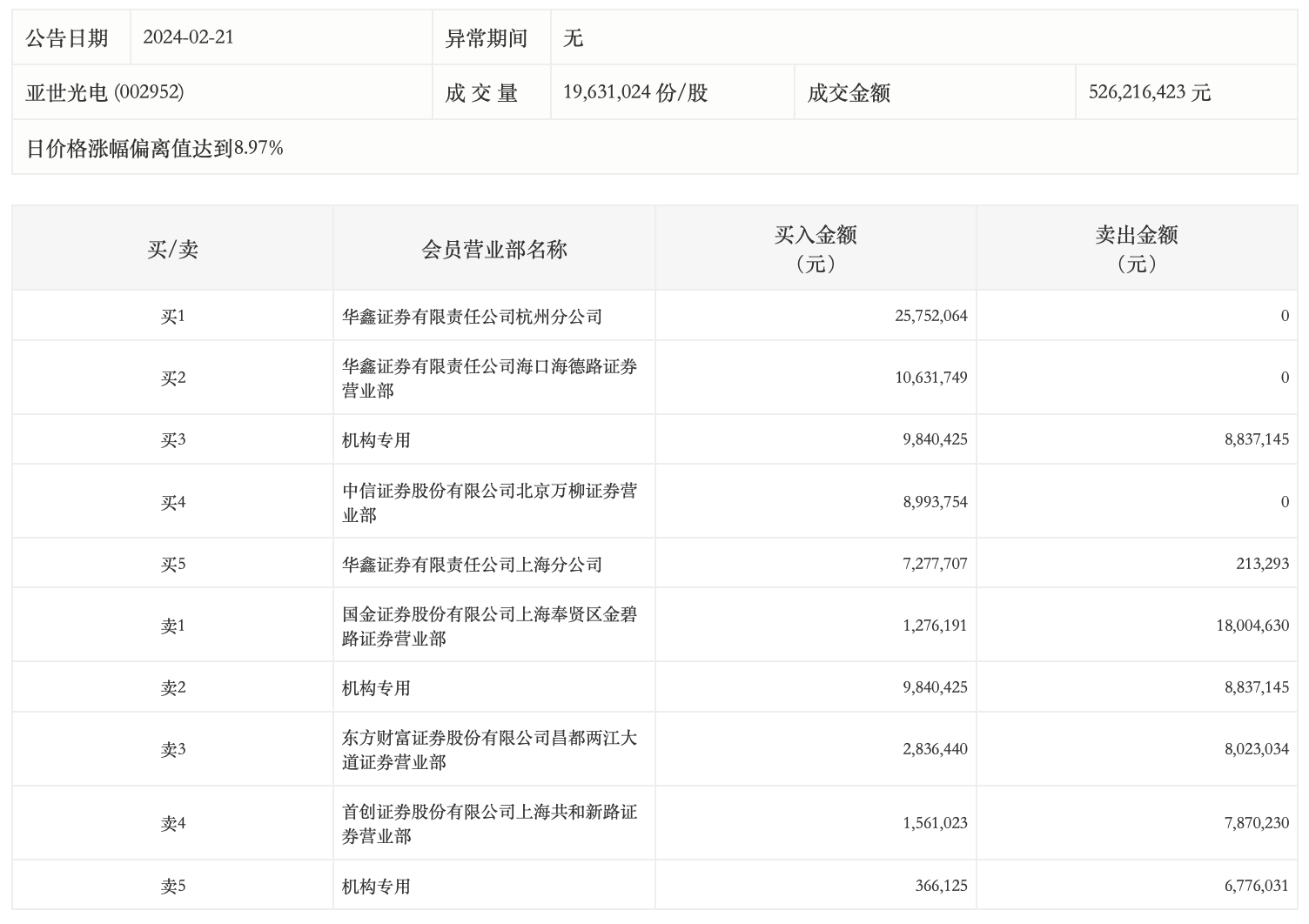
2月21日,亚世光电今日涨停,龙虎榜数据显示,上榜营业部席位全天成交1.18亿元,占当日总成交金额比例为22.47%。其中,买入金额为6853.55万元,卖出金额为4972.44万元,合计净买入1881.11万元。

具体来看,机构买入1020.65万元,卖出1561.32万元,合计净卖出540.66万元。此外,知名游资现身龙虎榜,华鑫证券杭州分公司、炒股养家(华鑫证券海口海德路证券营业部)分别买入2575.21万元、1063.17万元;国金证券上海奉贤区金碧路证券营业部、东方财富证券昌都两江大道证券营业部分别卖出1800.46万元、802.30万元。