龙虎榜丨芯瑞达今日涨停,机构合计净卖出2381.96万元

http://ddx.gubit.cn  2023-05-19 22:53  芯瑞达(002983)公司分析

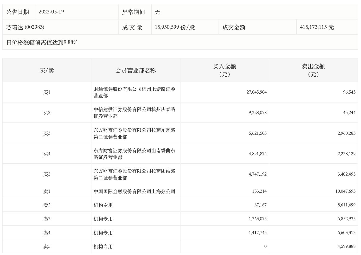
4月19日,芯瑞达今日涨停,龙虎榜数据显示,上榜营业部席位全天成交1.0亿元,占当日总成交金额比例为24.1%。其中,买入金额为5461.58万元,卖出金额为4544.8万元,合计净买入916.77万元。

具体来看,机构买入284.8万元,卖出2666.76万元,合计净卖出2381.96万元。此外,财通证券杭州上塘路证券营业部、中信建投证券杭州庆春路证券营业部分别买入2704.59万元、932.81万元;中国国际金融上海分公司、东方财富证券拉萨团结路第二证券营业部分别卖出1004.77万元、340.25万元。