龙虎榜丨天地在线今日涨2.41%,机构合计净买入618.15万元,炒股养家买入8253.60万元

http://ddx.gubit.cn  2023-06-15 16:36  天地在线(002995)公司分析

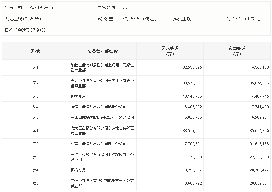
6月15日,天地在线今日涨2.41%,龙虎榜数据显示,上榜营业部席位全天成交3.62亿元,占当日总成交金额比例为29.79%。其中,买入金额为2.06亿元,卖出金额为1.56亿元,合计净买入5046.21万元。

具体来看,机构买入3143.57万元,卖出2525.42万元,合计净买入618.15万元。此外,知名游资现身龙虎榜,炒股养家(华鑫证券上海宛平南路证券营业部)、光大证券宁波北仑新碶证券营业部分别买入8253.60万元、3857.56万元;光大证券宁波北仑新碶证券营业部、东莞证券湖北分公司分别卖出3567.44万元、3161.52万元。