地铁设计:2023年净利润同比增长8.01% 拟10派4.9元

中证智能财讯 地铁设计(003013)3月30日披露2023年年报。2023年,公司实现营业总收入25.73亿元,同比增长3.92%;归母净利润4.32亿元,同比增长8.01%;扣非净利润4.26亿元,同比增长8.42%;经营活动产生的现金流量净额为1.85亿元,同比下降46.05%;报告期内,地铁设计基本每股收益为1.08元,加权平均净资产收益率为18.89%。公司2023年年度利润分配预案为:拟向全体股东每10股派4.9元(含税)。

以3月29日收盘价计算,地铁设计目前市盈率(TTM)约为13.72倍,市净率(LF)约为2.46倍,市销率(TTM)约为2.3倍。

公司近年市盈率(TTM)、市净率(LF)、市销率(TTM)历史分位图如下所示:



数据统计显示,地铁设计近三年营业总收入复合增长率为11.22%,在工程咨询服务Ⅲ行业已披露2023年数据的10家公司中排名第5。近三年净利润复合年增长率为14.66%,排名2/10。

年报称,公司主营业务包括轨道交通、市政、建筑等领域的勘察设计、规划咨询、工程总承包等,核心业务是轨道交通的勘察设计业务。
分产品来看,2023年公司主营业务中,勘察设计收入22.37亿元,同比下降1.51%,占营业收入的86.92%;规划咨询收入1.89亿元,同比增长53.88%,占营业收入的7.35%;工程总承包收入1.45亿元,同比增长80.66%,占营业收入的5.64%。

截至2023年末,公司员工总数为2091人,人均创收123.07万元,人均创利20.65万元,人均薪酬59.66万元,较上年同期分别增长0.89%、4.86%、8.37%。

2023年,公司毛利率为37.23%,同比上升4.16个百分点;净利率为17.08%,较上年同期上升0.68个百分点。从单季度指标来看,2023年第四季度公司毛利率为39.46%,同比上升8.27个百分点,环比上升8.89个百分点;净利率为20.87%,较上年同期上升3.04个百分点,较上一季度上升9.00个百分点。

分产品看,勘察设计、规划咨询、工程总承包2023年毛利率分别为38.87%、33.69%、16.13%。

报告期内,公司前五大客户合计销售金额14.55亿元,占总销售金额比例为56.53%,公司前五名供应商合计采购金额1.09亿元,占年度采购总额比例为20.78%。


数据显示,2023年公司加权平均净资产收益率为18.89%,较上年同期下降0.70个百分点;公司2023年投入资本回报率为17.00%,较上年同期下降0.97个百分点。

2023年,公司经营活动现金流净额为1.85亿元,同比下降46.05%;筹资活动现金流净额7383.91万元,同比增加2.85亿元;投资活动现金流净额-3.12亿元,上年同期为-1.54亿元。
进一步统计发现,2023年公司自由现金流为-1989.06万元,上年同期为22378.11万元。

2023年,公司营业收入现金比为86.38%,净现比为42.82%。

营运能力方面,2023年,公司公司总资产周转率为0.48次,上年同期为0.52次(2022年行业平均值为0.45次,公司位居同行业20/46);固定资产周转率为15.66次,上年同期为15.14次(2022年行业平均值为8.96次,公司位居同行业14/46);公司应收账款周转率、存货周转率分别为7.66次、3.11次。

2023年,公司期间费用为3.38亿元,较上年同期增加2028.91万元;期间费用率为13.15%,较上年同期上升0.30个百分点。其中,销售费用同比下降5.12%,管理费用同比增长2.4%,研发费用同比增长3.36%,财务费用由去年同期的-2130.26万元变为-576.77万元。

资产重大变化方面,截至2023年年末,公司货币资金较上年末减少3.91%,占公司总资产比重下降5.14个百分点;应收账款较上年末增加143.24%,占公司总资产比重上升4.27个百分点;在建工程较上年末增加114.45%,占公司总资产比重上升3.74个百分点;无形资产较上年末减少2.53%,占公司总资产比重下降2.19个百分点。

负债重大变化方面,截至2023年年末,公司应付账款较上年末增加37.23%,占公司总资产比重上升1.83个百分点;其他应付款(含利息和股利)较上年末增加168.12%,占公司总资产比重上升0.95个百分点;应交税费较上年末增加81.12%,占公司总资产比重上升0.83个百分点;合同负债较上年末减少2.10%,占公司总资产比重下降4.60个百分点。

从存货变动来看,截至2023年年末,公司存货账面价值为5.61亿元,占净资产的23.26%。根据财报,公司本期没有计提存货跌价准备。

2023年全年,公司研发投入金额为1.15亿元,同比增长3.36%;研发投入占营业收入比例为4.49%,相比上年同期下降0.02个百分点。此外,公司全年研发投入资本化率为0。


在偿债能力方面,公司2023年年末资产负债率为57.44%,相比上年末上升2.10个百分点;有息资产负债率为5.56%,相比上年末上升4.89个百分点。

2023年,公司流动比率为1.23,速动比率为1.05。

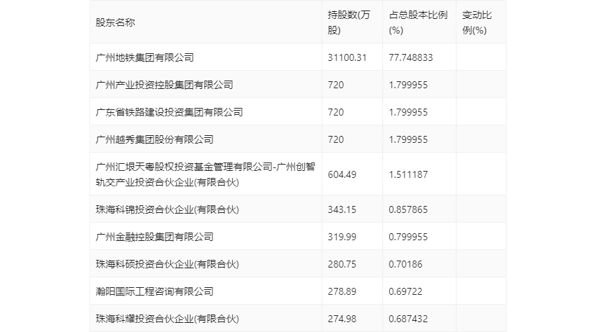
年报显示,2023年年末公司十大流通股东中,新进股东为广州地铁集团有限公司、广州产业投资控股集团有限公司、广州越秀集团股份有限公司、广州汇垠天粤股权投资基金管理有限公司-广州创智轨交产业投资合伙企业(有限合伙)、广州金融控股集团有限公司,取代了三季度末的香港中央结算有限公司、华夏银行股份有限公司-华夏智胜先锋股票型证券投资基金(LOF)、董昌龙、林金龙、吴子旺。在具体持股比例上,珠海科锦投资合伙企业(有限合伙)、珠海科硕投资合伙企业(有限合伙)、珠海科耀投资合伙企业(有限合伙)持股有所下降。

筹码集中度方面,截至2023年年末,公司股东总户数为1.19万户,较三季度末增长了138户,增幅1.18%;户均持股市值由三季度末的59.05万元下降至55.32万元,降幅为6.32%。

指标注解:
市盈率
=总市值/净利润。当公司亏损时市盈率为负,此时用市盈率估值没有实际意义,往往用市净率或市销率做参考。
市净率
=总市值/净资产。市净率估值法多用于盈利波动较大而净资产相对稳定的公司。
市销率
=总市值/营业收入。市销率估值法通常用于亏损或微利的成长型公司。
文中市盈率和市销率采用TTM方式,即以截至最近一期财报(含预报)12个月的数据计算。市净率采用LF方式,即以最近一期财报数据计算。
市盈率为负时,不显示当期分位数,会导致折线图中断。