龙虎榜丨同兴环保今日跌停,知名游资宁波桑田路、炒股养家分别买入1166.6万元、1096.07万元

查股网  2024-01-26 22:27  同兴环保(003027)个股分析

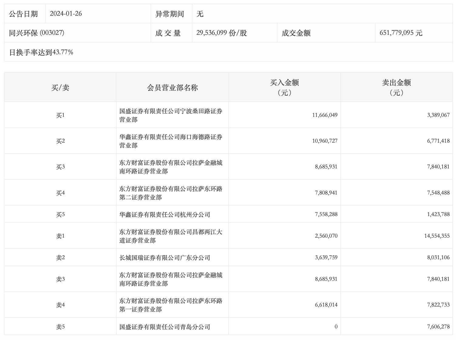
1月26日,同兴环保今日跌停,龙虎榜数据显示,上榜营业部席位全天成交1.24亿元,占当日总成交金额比例为19.1%。其中,买入金额为5949.78万元,卖出金额为6498.74万元,合计净卖出548.96万元。

具体来看,知名游资现身龙虎榜,东方财富证券昌都两江大道证券营业部、长城国瑞证券有限公司广东分公司分别卖出1455.44万元、803.11万元;宁波桑田路(国盛证券宁波桑田路证券营业部)、炒股养家(华鑫证券海口海德路证券营业部)分别买入1166.60万元、1096.07万元。