龙虎榜丨同兴环保今日跌停,营业部席位合计净买入358.83万元

查股网  2024-01-31 16:50  同兴环保(003027)个股分析

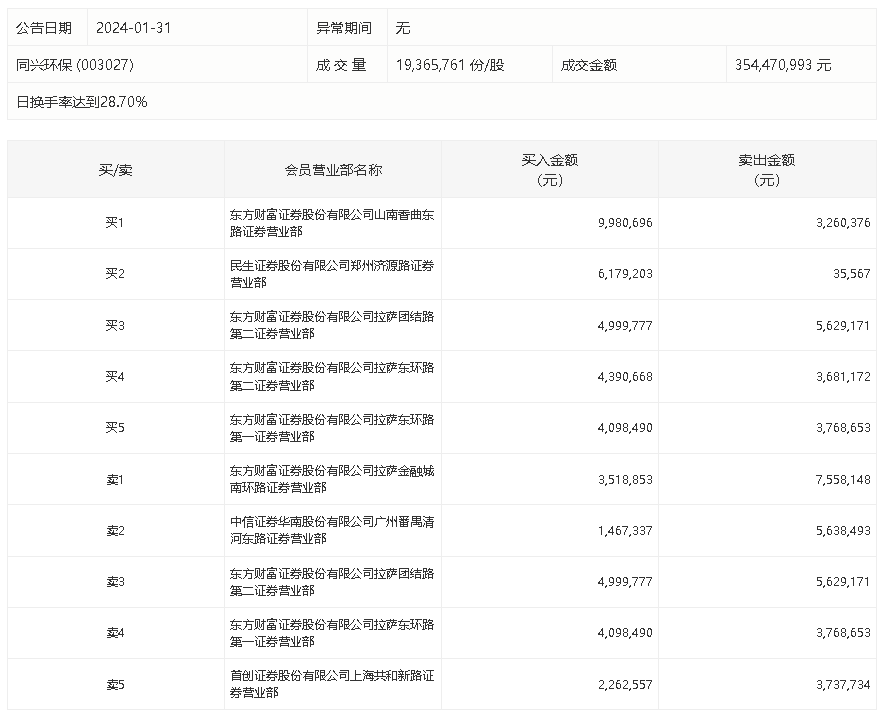
1月31日,同兴环保今日跌停,全天换手率达29.05%,振幅达9.51%。龙虎榜数据显示,营业部席位合计净买入358.83万元。其中,东方财富证券拉萨金融城南环路证券营业部、中信证券华南广州番禺清河东路证券营业部分别卖出755.81万元、563.85万元;东方财富证券山南香曲东路证券营业部、民生证券郑州济源路证券营业部分别买入998.07万元、617.92万元。