龙虎榜丨传智教育今日跌5.71%,知名游资方新侠净卖出5076.41万元

查股网  2023-11-17 16:52  传智教育(003032)个股分析

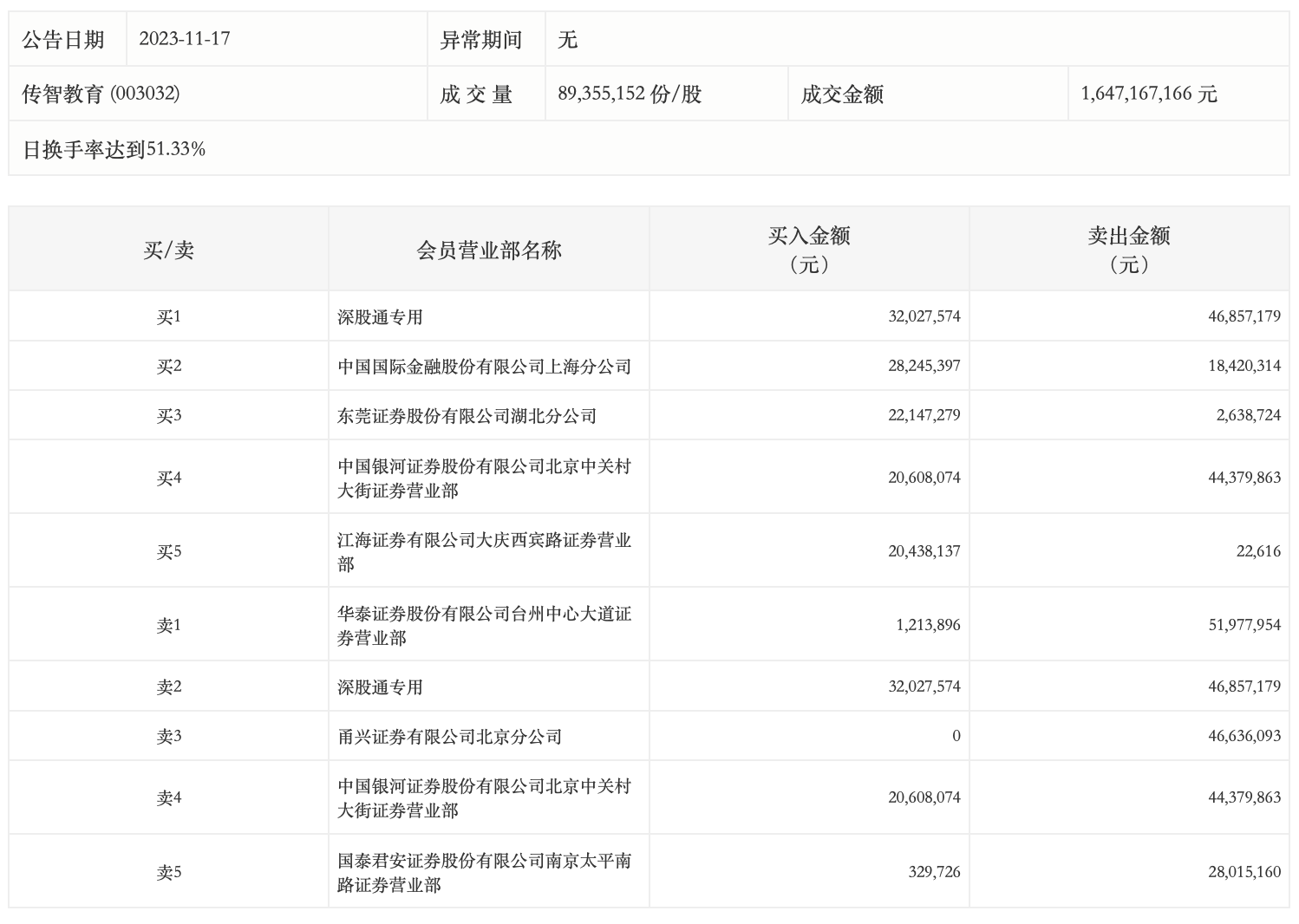
11月17日,传智教育今日跌5.71%,龙虎榜数据显示,上榜营业部席位全天成交3.64亿元,占当日总成交金额比例为22.1%。其中,买入金额为1.25亿元,卖出金额为2.39亿元,合计净卖出1.14亿元。

具体来看,知名游资现身龙虎榜,方新侠(华泰证券台州中心大道证券营业部)、深股通专用分别卖出5197.80万元、4685.72万元;深股通专用、中国国际金融上海分公司分别买入3202.76万元、2824.54万元。