龙虎榜丨传智教育今日跌停,知名游资章盟主净卖出1743.43万元

查股网  2023-11-23 19:32  传智教育(003032)个股分析

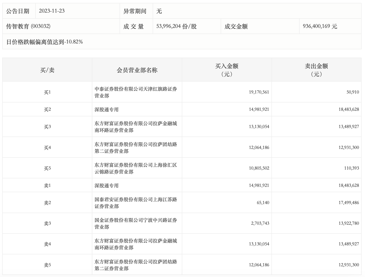
11月23日,传智教育今日跌停,龙虎榜数据显示,上榜营业部席位全天成交1.49亿元,占当日总成交金额比例为15.96%。其中,买入金额为7292.11万元,卖出金额为7648.84万元,合计净卖出356.73万元。

具体来看,知名游资现身龙虎榜,深股通专用、章盟主(国泰君安证券上海江苏路证券营业部)分别卖出1848.36万元、1749.95万元;中泰证券天津红旗路证券营业部、深股通专用分别买入1917.06万元、1498.19万元。