传智教育:2024年上半年亏损3422.47万元

中证智能财讯 传智教育(003032)8月29日披露2024年半年报。2024年上半年,公司实现营业总收入1.11亿元,同比下降65.03%;归母净利润亏损3422.47万元,上年同期盈利7708.65万元;扣非净利润亏损4709.68万元,上年同期盈利6134.64万元;经营活动产生的现金流量净额为-6356.03万元,上年同期为3692.62万元;报告期内,传智教育基本每股收益为-0.09元,加权平均净资产收益率为-2.55%。
公告称,公司营业收入变化主要由于受外部环境的影响,公司作为以就业为导向的职业教育机构,学员报名人数有所减少,收入有所下滑。
报告期内,公司合计非经常性损益为1287.21万元,其中计入当期损益的政府补助为1227.19万元。

以8月28日收盘价计算,传智教育目前市盈率(TTM)约为-33.94倍,市净率(LF)约为2.4倍,市销率(TTM)约为9.92倍。

公司近年市盈率(TTM)、市净率(LF)、市销率(TTM)历史分位图如下所示:



根据半年报,公司第二季度实现营业总收入6043.03万元,同比下降66.14%,环比增长18.67%;归母净利润-1821.81万元,同比下降130.59%,环比下降13.82%;扣非净利润-2111.24万元,同比下降143.30%,环比增长18.75%。

半年报显示,公司从事的数字化人才职业教育业务涵盖数字化人才职业培训和数字化人才学历职业教育两大板块。
分产品来看,2024年上半年公司主营业务中,短期培训收入9994.26万元,同比下降67.33%,占营业收入的89.75%;学历中等职业教育收入330.00万元,同比增长76.41%,占营业收入的2.96%;非学历高等教育收入287.00万元,同比下降54.86%,占营业收入的2.58%。

2024年上半年,公司毛利率为32.28%,同比下降26.00个百分点;净利率为-30.73%,较上年同期下降54.94个百分点。从单季度指标来看,2024年第二季度公司毛利率为33.51%,同比下降29.42个百分点,环比上升2.70个百分点;净利率为-30.15%,较上年同期下降63.51个百分点,较上一季度上升1.28个百分点。

分产品看,短期培训、学历中等职业教育、非学历高等教育2024年上半年毛利率分别为29.72%、50.63%、19.82%。
数据显示,2024年上半年公司加权平均净资产收益率为-2.55%,较上年同期下降8.13个百分点;公司2024年上半年投入资本回报率为-3.11%,较上年同期下降8.09个百分点。

2024年上半年,公司经营活动现金流净额为-6356.03万元,同比减少1.00亿元,主要系本报告期学员培训费收款减少所致;筹资活动现金流净额-1218.27万元,同比增加2118.22万元,主要系退租导致租金减少和出售持股计划回购股票导致所致;投资活动现金流净额1.72亿元,上年同期为-1.43亿元,主要系本报告期收回交易性金融资产所致。
进一步统计发现,2024年上半年公司自由现金流为1.39亿元,上年同期为-1.38亿元。

2024年上半年,公司营业收入现金比为123.32%。

2024年上半年,公司期间费用为9601.16万元,较上年同期减少2246.32万元;但期间费用率为86.22%,较上年同期上升49.02个百分点。其中,销售费用同比下降19.73%,管理费用同比下降13.57%,研发费用同比下降10.19%,财务费用由去年同期的161.02万元变为-295.72万元。
资料显示,财务费用的变动主要因为本报告期较上年同期理财产品的收益增多和退租导致租赁相关的利息支出减少。

资产重大变化方面,截至2024年上半年末,公司交易性金融资产较上年末减少69.00%,占公司总资产比重下降13.10个百分点;在建工程较上年末增加91.55%,占公司总资产比重上升10.17个百分点;货币资金较上年末增加11.82%,占公司总资产比重上升6.03个百分点;一年内到期的非流动资产较上年末减少94.94%,占公司总资产比重下降1.77个百分点。

负债重大变化方面,截至2024年上半年末,公司应付账款较上年末增加197.01%,占公司总资产比重上升4.57个百分点;应付职工薪酬较上年末减少56.77%,占公司总资产比重下降1.75个百分点;其他应付款(含利息和股利)较上年末减少79.04%,占公司总资产比重下降1.60个百分点;租赁负债较上年末减少19.37%,占公司总资产比重下降1.04个百分点。

在偿债能力方面,公司2024年上半年末资产负债率为19.47%,相比上年末下降0.51个百分点;有息资产负债率为1.85%,相比上年末下降0.19个百分点。

2024年上半年,公司流动比率为4.19,速动比率为4.19。

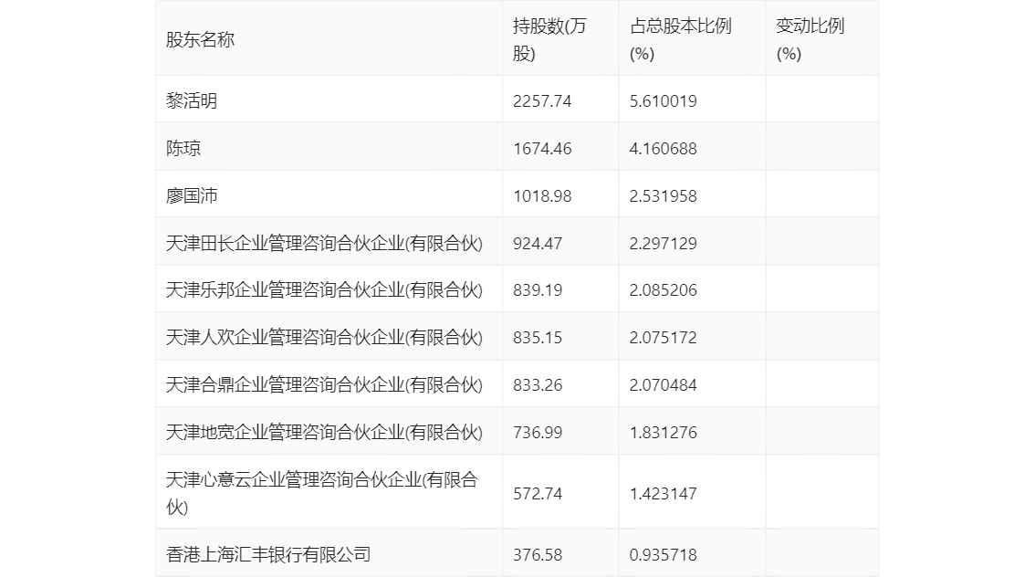
半年报显示,2024年上半年末公司十大流通股东中,新进股东为廖国沛,取代了一季度末的江苏传智播客教育科技股份有限公司-2022年员工持股计划。在具体持股比例上,香港上海汇丰银行有限公司持股有所上升,天津田长企业管理咨询合伙企业(有限合伙)、天津乐邦企业管理咨询合伙企业(有限合伙)、天津人欢企业管理咨询合伙企业(有限合伙)、天津合鼎企业管理咨询合伙企业(有限合伙)、天津地宽企业管理咨询合伙企业(有限合伙)持股有所下降。

筹码集中度方面,截至2024年上半年末,公司股东总户数为5.42万户,较一季度末增长了3799户,增幅7.53%;户均持股市值由一季度末的9.18万元下降至7.43万元,降幅为19.06%。

指标注解:
市盈率
=总市值/净利润。当公司亏损时市盈率为负,此时用市盈率估值没有实际意义,往往用市净率或市销率做参考。
市净率
=总市值/净资产。市净率估值法多用于盈利波动较大而净资产相对稳定的公司。
市销率
=总市值/营业收入。市销率估值法通常用于亏损或微利的成长型公司。
文中市盈率和市销率采用TTM方式,即以截至最近一期财报(含预报)12个月的数据计算。市净率采用LF方式,即以最近一期财报数据计算。
市盈率为负时,不显示当期分位数,会导致折线图中断。