龙虎榜丨顺控发展今日涨停,上榜营业部席位全天成交1.12亿元

http://ddx.gubit.cn  2023-03-14 21:01  顺控发展(003039)公司分析

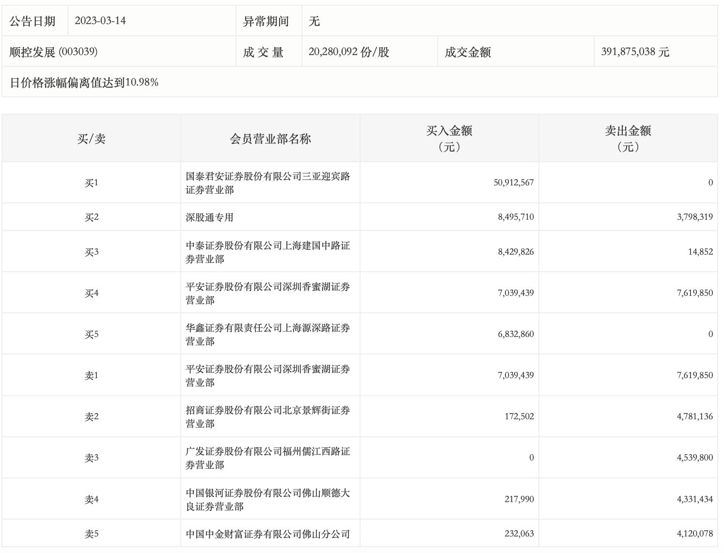
3月14日,顺控发展今日涨停,龙虎榜数据显示,上榜营业部席位全天成交1.12亿元,占当日总成交金额比例为28.46%。其中,买入金额为8233.3万元,卖出金额为2920.55万元,合计净买入5312.75万元。

具体来看,国泰君安证券三亚迎宾路证券营业部、深股通专用分别买入5091.26万元、849.57万元;平安证券深圳香蜜湖证券营业部、招商证券北京景辉街证券营业部分别卖出761.98万元、478.11万元。