龙虎榜丨顺控发展今日涨0.74%,机构合计净买入1430.4万元,方新侠净买入1986.43万元

http://ddx.gubit.cn  2023-10-27 22:26  顺控发展(003039)公司分析

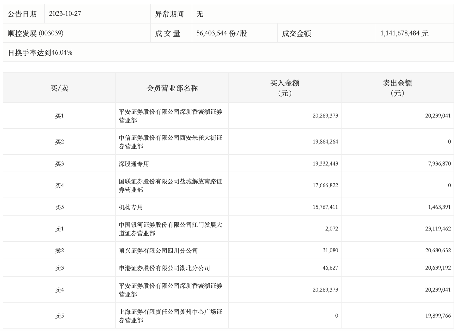
10月27日,顺控发展今日涨0.74%,龙虎榜数据显示,上榜营业部席位全天成交2.07亿元,占当日总成交金额比例为18.13%。其中,买入金额为9298.01万元,卖出金额为1.14亿元,合计净卖出2099.83万元。

具体来看,机构买入1576.74万元,卖出146.34万元,合计净买入1430.4万元。此外,知名游资现身龙虎榜,平安证券深圳香蜜湖证券营业部、方新侠(中信证券西安朱雀大街证券营业部)分别买入2026.94万元、1986.43万元;中国银河证券江门发展大道证券营业部、甬兴证券有限公司四川分公司分别卖出2311.95万元、2068.06万元。