龙虎榜丨中农联合今日跌9.94%,营业部席位合计净卖出331.81万元

查股网  2024-02-06 16:42  中农联合(003042)个股分析

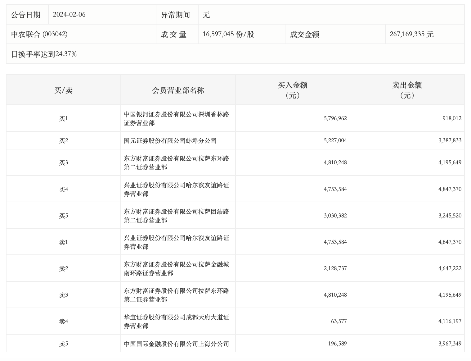
2月6日,中农联合今日跌9.94%,全天换手率达24.37%,振幅达9.43%。龙虎榜数据显示,营业部席位合计净卖出331.81万元。其中,兴业证券哈尔滨友谊路证券营业部、东方财富证券拉萨金融城南环路证券营业部分别卖出484.74万元、464.72万元;中国银河证券深圳香林路证券营业部、国元证券蚌埠分公司分别买入579.70万元、522.70万元。