龙虎榜丨探路者今日跌15.8%,机构合计净买入590.42万元

http://ddx.gubit.cn  2023-10-23 21:10  探路者(300005)公司分析

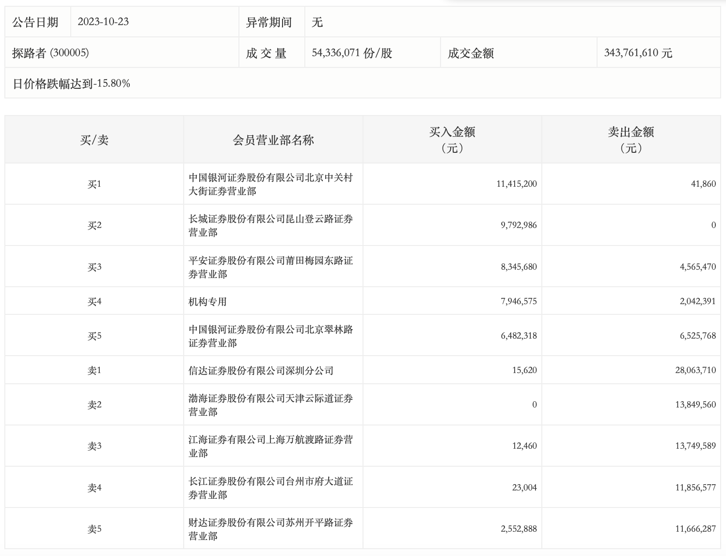
10月23日,探路者今日跌15.8%,全天换手率达6.15%,振幅达19.68%。龙虎榜数据显示,营业部席位合计净卖出4577.45万元。其中,机构买入794.66万元,卖出204.24万元,合计净买入590.42万元。此外,信达证券深圳分公司、渤海证券天津云际道证券营业部分别卖出2806.37万元、1384.96万元;中国银河证券北京中关村大街证券营业部、长城证券昆山登云路证券营业部分别买入1141.52万元、979.30万元。