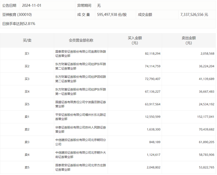
龙虎榜 | 豆神教育今日涨11.21%,宁波桑田路净买入3938.34万元

查股网  2024-11-01 20:39  豆神教育(300010)个股分析

豆神教育今日涨11.21%,龙虎榜数据显示,上榜营业部席位全天成交9.16亿元,占当日总成交金额比例为12.48%。其中,买入金额为3.78亿元,卖出金额为5.38亿元,合计净卖出1.59亿元。

具体来看,知名游资现身龙虎榜,宁波桑田路(国盛证券有限责任公司宁波桑田路证券营业部)净买入3938.34万元。此外,国泰君安证券宜昌珍珠路证券营业部、东方财富证券拉萨东环路第二证券营业部分别买入8211.83万元、7411.48万元;平安证券福州长乐北路证券营业部、华泰证券苏州人民路证券营业部分别卖出1.52亿元、7043.97万元。