龙虎榜丨新宁物流今日跌停,机构合计净卖出215.49万元

查股网  2024-01-31 16:46  新宁物流(300013)个股分析

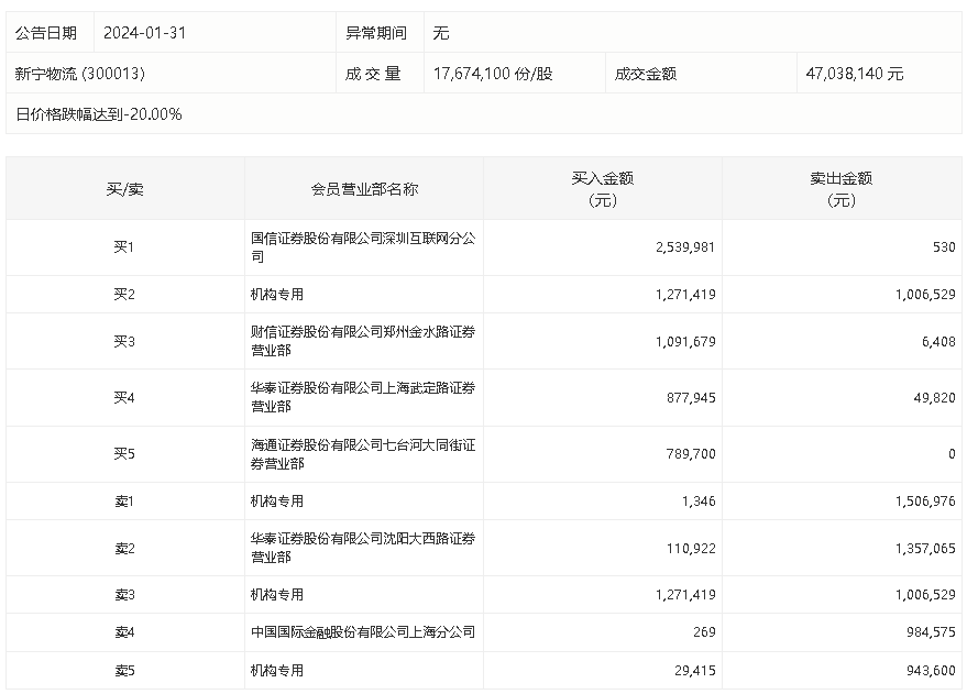
1月31日,新宁物流(维权)今日跌停,全天换手率达3.96%,振幅达3.93%。龙虎榜数据显示,营业部席位合计净买入85.72万元。其中,机构买入130.22万元,卖出345.71万元,合计净卖出215.49万元。此外,华泰证券沈阳大西路证券营业部、中国国际金融上海分公司分别卖出135.71万元、98.46万元;国信证券深圳互联网分公司、财信证券郑州金水路证券营业部分别买入254.00万元、109.17万元。