爱尔眼科落子梅溪湖二期 将打造全链条眼健康产业体系
长沙晚报掌上长沙3月11日讯(全媒体记者 贾凯清 通讯员 胡翔)3月11日,全球眼科医疗领军品牌爱尔眼科成功摘得梅溪湖国际新城二期L06-D19-01/02地块开发权,为片区生命健康产业集群建设、城市科创能级提升再次打下坚实支撑。

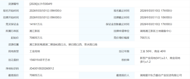
据悉,此次出让的地块位于梅溪湖二期油松路以北、映日路以西、泉水路以南,区位条件优越、规划导向清晰。为精准匹配生命健康产业发展导向,梅溪湖二期此前已对该组团地块进行系统性规划优化,从功能布局、规划指标、用地结构等方面全面升级,坚持规划先行、精准适配、服务产业的原则,让空间形态更贴合产业生态,从源头保障项目高标准规划、高质量建设、高效率落地。

相关负责人介绍,该地块将着重聚焦引进和培育眼健康上下游及生物医药大健康产业相关企业,高标准建设产业孵化器、医疗产业制造中心、医药制剂研发中心及相关配套设施。片区还将围绕产业发展需求进行定制化地块设计,精准契合高端医疗、科创研发、产业集聚的发展方向,为爱尔眼科构建全链条眼健康产业体系提供优质空间载体。

爱尔眼科作为全球具备广泛影响力的眼科医疗与科研机构,拥有成熟的医疗体系、科研平台与产业运营能力。本次进驻梅溪湖二期,将围绕眼健康领域打造集医疗服务、科研创新、成果转化、产业孵化于一体的综合性平台。项目将进一步完善高端医疗科研配套,提升区域医疗科创水平,吸引医疗科技、生物医药、健康服务等上下游优质资源向片区汇聚。

如今的梅溪湖国际新城,已形成千亿级产业集群,产城融合的磁场效应持续凸显——片区集聚了张家界学院(长沙)科教融汇创新研究院、淡水河谷-中南大学低碳与氢冶金联合实验室、长沙市口腔医院河西分院等知名医院、泰康之家湘园等医疗健康研究机构,以及众多优质资源,生命健康产业发展基础坚实。景嘉微、科大讯飞等多家头部企业也纷纷落子。
“爱尔眼科成功进驻,是片区招商的重要突破,也标志着健康科创产业版图持续完善。”湘江集团梅溪湖公司相关负责人表示,梅溪湖二期始终坚持产业优先、精准赋能的发展理念,以高标准配套、高效率服务、高质量生态为企业提供全周期发展保障。未来,片区将不断集聚龙头企业,全力打造长沙产城融合新高地、健康科创示范区。