龙虎榜丨朗科科技今日涨15.73%,机构合计净买入660.6万元

http://ddx.gubit.cn  2023-05-19 22:55  朗科科技(300042)公司分析

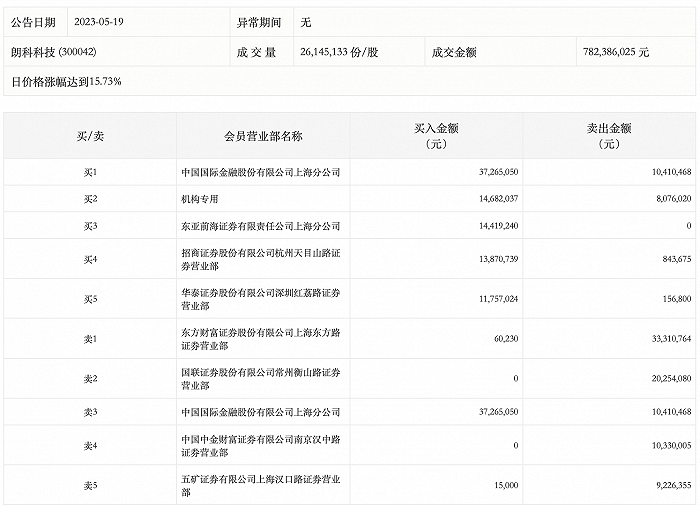
5月19日,朗科科技今日涨15.73%,龙虎榜数据显示,上榜营业部席位全天成交1.85亿元,占当日总成交金额比例为23.6%。其中,买入金额为9206.93万元,卖出金额为9260.82万元,合计净卖出53.88万元。

具体来看,机构买入1468.2万元,卖出807.6万元,合计净买入660.6万元。此外,中国国际金融上海分公司、东亚前海证券上海分公司分别买入3726.50万元、1441.92万元;东方财富证券上海东方路证券营业部、国联证券常州衡山路证券营业部分别卖出3331.08万元、2025.41万元。