龙虎榜丨华力创通今日涨17.22%,知名游资炒股养家净买入8400.26万元

http://ddx.gubit.cn  2023-09-05 20:26  华力创通(300045)公司分析

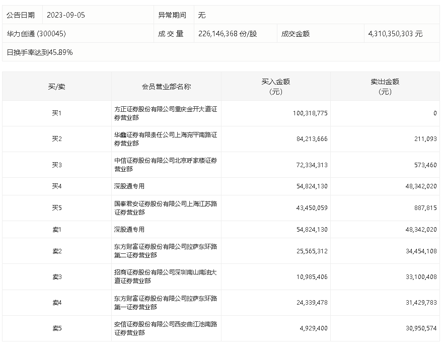
9月5日,华力创通今日涨17.22%,龙虎榜数据显示,上榜营业部席位全天成交6.01亿元,占当日总成交金额比例为13.94%。其中,买入金额为4.21亿元,卖出金额为1.8亿元,合计净买入2.41亿元。

具体来看,知名游资现身龙虎榜,方正证券重庆金开大道证券营业部、炒股养家(华鑫证券上海宛平南路证券营业部)分别买入1.00亿元、8421.37万元;深股通专用、东方财富证券拉萨东环路第二证券营业部分别卖出4834.20万元、3445.41万元。