龙虎榜丨航宇微今日涨停,机构合计净买入2694.37万元

查股网  2023-11-20 17:10  航宇微(300053)个股分析

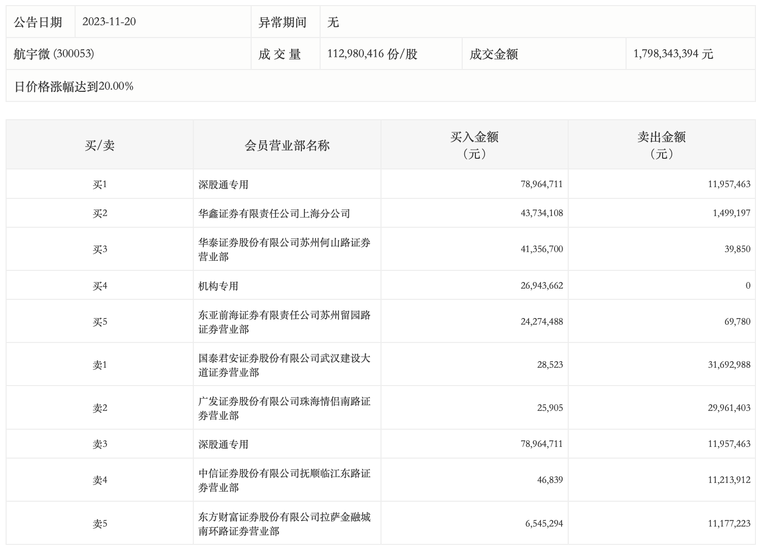
11月20日,航宇微今日涨停,全天换手率达17.56%,振幅达14.09%。龙虎榜数据显示,营业部席位合计净买入1.24亿元。其中,机构合计净买入2694.37万元。此外,深股通专用、华鑫证券上海分公司分别买入7896.47万元、4373.41万元;国泰君安证券武汉建设大道证券营业部、广发证券珠海情侣南路证券营业部分别卖出3169.30万元、2996.14万元。