鼎龙股份:2023年净利润2.22亿元 同比下降43.08%

中证智能财讯 鼎龙股份(300054)4月10日披露2023年年报。2023年,公司实现营业总收入26.67亿元,同比下降2.00%;归母净利润2.22亿元,同比下降43.08%;扣非净利润1.64亿元,同比下降52.79%;经营活动产生的现金流量净额为5.34亿元,同比下降5.05%;报告期内,鼎龙股份基本每股收益为0.24元,加权平均净资产收益率为4.94%。

以4月9日收盘价计算,鼎龙股份目前市盈率(TTM)约为91.89倍,市净率(LF)约为4.57倍,市销率(TTM)约为7.65倍。

公司近年市盈率(TTM)、市净率(LF)、市销率(TTM)历史分位图如下所示:



数据统计显示,鼎龙股份近三年营业总收入复合增长率为13.65%,在电子化学品Ⅲ行业已披露2023年数据的10家公司中排名第10。近三年净利润复合年增长率为50.21%,排名2/10。

年报显示,鼎龙股份是国内领先的关键大赛道领域中各类核心“卡脖子”进口替代类创新材料的平台型公司,目前重点聚焦半导体创新材料领域中:半导体制造用CMP工艺材料和晶圆光刻胶、半导体显示材料、半导体先进封装材料三个细分板块,并持续在其他相关大应用领域的创新材料端进行拓展布局。此外公司在传统打印复印通用耗材业务领域进行了全产业链布局。
分产品来看,2023年公司主营业务中,打印复印通用耗材(含彩色聚合碳粉、显影辊、载体、硒鼓、墨盒等)收入17.86亿元,同比下降8.08%,占营业收入的66.97%;光电半导体材料及芯片(含CMP抛光垫、CMP抛光液、CMP清洗液、YPI、PSPI、TFE-INK,芯片等)收入8.57亿元,同比增长18.82%,占营业收入的32.12%。

2023年,公司毛利率为36.95%,同比下降1.14个百分点;净利率为10.79%,较上年同期下降5.90个百分点。从单季度指标来看,2023年第四季度公司毛利率为39.70%,同比上升2.07个百分点,环比上升0.76个百分点;净利率为8.63%,较上年同期下降5.73个百分点,较上一季度下降5.68个百分点。

分产品看,打印复印通用耗材(含彩色聚合碳粉、显影辊、载体、硒鼓、墨盒等)、光电半导体材料及芯片(含CMP抛光垫、CMP抛光液、CMP清洗液、YPI、PSPI、TFE-INK,芯片等)2023年毛利率分别为24.85%、61.48%。
报告期内,公司前五大客户合计销售金额6.35亿元,占总销售金额比例为23.83%,公司前五名供应商合计采购金额2.36亿元,占年度采购总额比例为15.81%。

数据显示,2023年公司加权平均净资产收益率为4.94%,较上年同期下降4.03个百分点;公司2023年投入资本回报率为5.65%,较上年同期下降4.00个百分点。

2023年,公司经营活动现金流净额为5.34亿元,同比下降5.05%;筹资活动现金流净额6.24亿元,同比增加6.19亿元;投资活动现金流净额-10.95亿元,上年同期为-5.48亿元。
进一步统计发现,2023年公司自由现金流为-5.76亿元,上年同期为0.32亿元。

2023年,公司营业收入现金比为117.61%,净现比为240.69%。

营运能力方面,2023年,公司公司总资产周转率为0.43次,上年同期为0.51次(2022年行业平均值为0.49次,公司位居同行业19/34);固定资产周转率为2.14次,上年同期为3.33次(2022年行业平均值为2.51次,公司位居同行业13/34);公司应收账款周转率、存货周转率分别为3.08次、3.22次。

2023年,公司期间费用为7.02亿元,较上年同期增加1.36亿元;期间费用率为26.32%,较上年同期上升5.53个百分点。其中,销售费用同比增长1.4%,管理费用同比增长12.8%,研发费用同比增长20.2%,财务费用由去年同期的-4672.11万元变为71.35万元。

资产重大变化方面,截至2023年年末,公司固定资产较上年末增加70.68%,占公司总资产比重上升7.04个百分点;存货较上年末减少8.75%,占公司总资产比重下降2.29个百分点;货币资金较上年末增加7.79%,占公司总资产比重下降1.78个百分点;其他非流动金融资产较上年末增加121.48%,占公司总资产比重上升1.66个百分点。

负债重大变化方面,截至2023年年末,公司长期借款较上年末增加184.80%,占公司总资产比重上升4.86个百分点;短期借款较上年末增加154.77%,占公司总资产比重上升2.35个百分点;一年内到期的非流动负债较上年末增加517.18%,占公司总资产比重上升0.71个百分点;长期递延收益较上年末增加16.56%,占公司总资产比重下降0.09个百分点。

2023年全年,公司研发投入金额为3.82亿元,同比增长19.84%;研发投入占营业收入比例为14.33%,相比上年同期上升2.61个百分点。此外,公司全年研发投入资本化率为0.50%。



年报称,截至2023年12月31日,公司已获授及在申请中的专利共1022项,其中已获得授权的专利900项,包括外观设计专利76项、发明专利335项、实用新型专利489项;拥有软件著作权与集成电路布图设计113项。
在偿债能力方面,公司2023年年末资产负债率为27.31%,相比上年末上升7.06个百分点;有息资产负债率为13.66%,相比上年末上升7.92个百分点。

2023年,公司流动比率为3.02,速动比率为2.49。

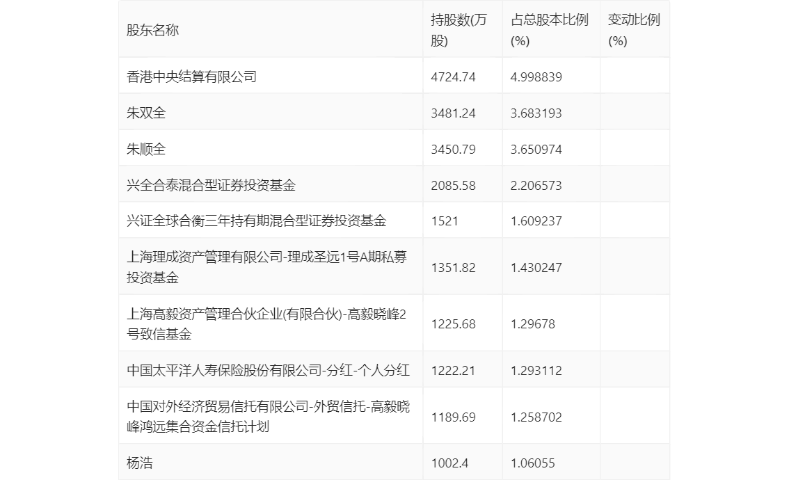
年报显示,2023年年末公司十大流通股东中,持股最多的为香港中央结算有限公司,占比5.00%。十大流通股东名单相比2023年三季报维持不变。在具体持股比例上,兴证全球合衡三年持有期混合型证券投资基金、上海理成资产管理有限公司-理成圣远1号A期私募投资基金、上海高毅资产管理合伙企业(有限合伙)-高毅晓峰2号致信基金、中国对外经济贸易信托有限公司-外贸信托-高毅晓峰鸿远集合资金信托计划持股有所上升,香港中央结算有限公司、朱双全、朱顺全、兴全合泰混合型证券投资基金、中国太平洋人寿保险股份有限公司-分红-个人分红、杨浩持股有所下降。

筹码集中度方面,截至2023年年末,公司股东总户数为1.97万户,较三季度末下降了808户,降幅3.93%;户均持股市值由三季度末的96.36万元上升至115.87万元,增幅为20.25%。

指标注解:
市盈率
=总市值/净利润。当公司亏损时市盈率为负,此时用市盈率估值没有实际意义,往往用市净率或市销率做参考。
市净率
=总市值/净资产。市净率估值法多用于盈利波动较大而净资产相对稳定的公司。
市销率
=总市值/营业收入。市销率估值法通常用于亏损或微利的成长型公司。
文中市盈率和市销率采用TTM方式,即以截至最近一期财报(含预报)12个月的数据计算。市净率采用LF方式,即以最近一期财报数据计算。
市盈率为负时,不显示当期分位数,会导致折线图中断。