鼎龙股份:2024年第一季度净利润8157.58万元 同比增长134.86%

中证智能财讯 鼎龙股份(300054)4月26日披露2024年一季报。2024年第一季度,公司实现营业总收入7.08亿元,同比增长29.50%;归母净利润8157.58万元,同比增长134.86%;扣非净利润6584.78万元,同比增长213.71%;经营活动产生的现金流量净额为1.66亿元,同比增长103.02%;报告期内,鼎龙股份基本每股收益为0.0863元,加权平均净资产收益率为1.83%。

2024年第一季度,公司毛利率为44.26%,同比上升9.62个百分点;净利率为16.13%,较上年同期上升9.00个百分点。

数据显示,2024年第一季度公司加权平均净资产收益率为1.83%,较上年同期增长1.00个百分点;公司2024年第一季度投入资本回报率为2.00%,较上年同期增长1.21个百分点。

2024年第一季度,公司经营活动现金流净额为1.66亿元,同比增长103.02%;筹资活动现金流净额8426.29万元,同比减少1.67亿元;投资活动现金流净额-2.68亿元,上年同期为-2.24亿元。

2024年第一季度,公司营业收入现金比为122.73%,净现比为203.59%。

资产重大变化方面,截至2024年一季度末,公司其他非流动资产较上年末增加83.12%,占公司总资产比重上升1.60个百分点;应收账款较上年末减少9.55%,占公司总资产比重下降1.47个百分点;在建工程较上年末增加13.81%,占公司总资产比重上升1.01个百分点;交易性金融资产较上年末减少75.76%,占公司总资产比重下降0.75个百分点。

负债重大变化方面,截至2024年一季度末,公司长期借款较上年末增加36.75%,占公司总资产比重上升2.89个百分点;短期借款较上年末增加19.65%,占公司总资产比重上升0.78个百分点;长期递延收益较上年末增加17.68%,占公司总资产比重上升0.64个百分点;应付职工薪酬较上年末减少46.26%,占公司总资产比重下降0.57个百分点。

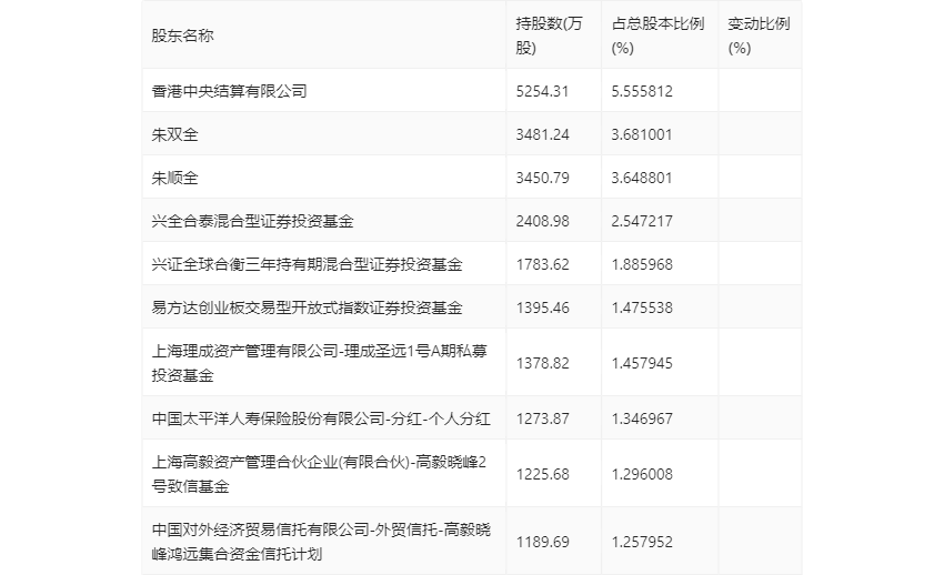
一季报显示,2024年一季度末的公司十大流通股东中,新进股东为易方达创业板交易型开放式指数证券投资基金,取代了上年末的杨浩。在具体持股比例上,香港中央结算有限公司、兴全合泰混合型证券投资基金、兴证全球合衡三年持有期混合型证券投资基金、理成圣远1号A期私募投资基金、中国太平洋人寿保险股份有限公司-分红-个人分红持股有所上升,朱双全、朱顺全、上海高毅资产管理合伙企业(有限合伙)-高毅晓峰2号致信基金、高毅晓峰鸿远集合资金信托计划持股有所下降。

筹码集中度方面,截至2024年一季度末,公司股东总户数为1.87万户,较上年末下降了1011户,降幅5.12%;户均持股市值由上年末的115.87万元下降至107.65万元,降幅为7.09%。
