龙虎榜 | 蓝色光标今日涨停,知名游资方新侠买入1.04亿元

查股网  2024-11-11 20:51  蓝色光标(300058)个股分析

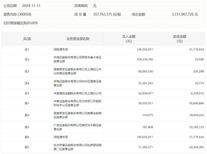
蓝色光标今日涨停,龙虎榜数据显示,上榜营业部席位全天成交6.65亿元,占当日总成交金额比例为21.1%。其中,买入金额为4.67亿元,卖出金额为1.98亿元,合计净买入2.69亿元。

具体来看,知名游资现身龙虎榜,深股通专用、方新侠(中信证券(维权)西安朱雀大街证券营业部)分别买入1.45亿元、1.04亿元;华泰证券北京西三环国际财经中心证券营业部、国泰君安证券南昌站前路证券营业部分别卖出6584.09万元、3909.42万元。