龙虎榜丨倍益康今日跌12%,东方财富证券拉萨团结路第一证券营业部卖出358.79万元

查股网  2024-01-09 18:47  东方财富(300059)个股分析

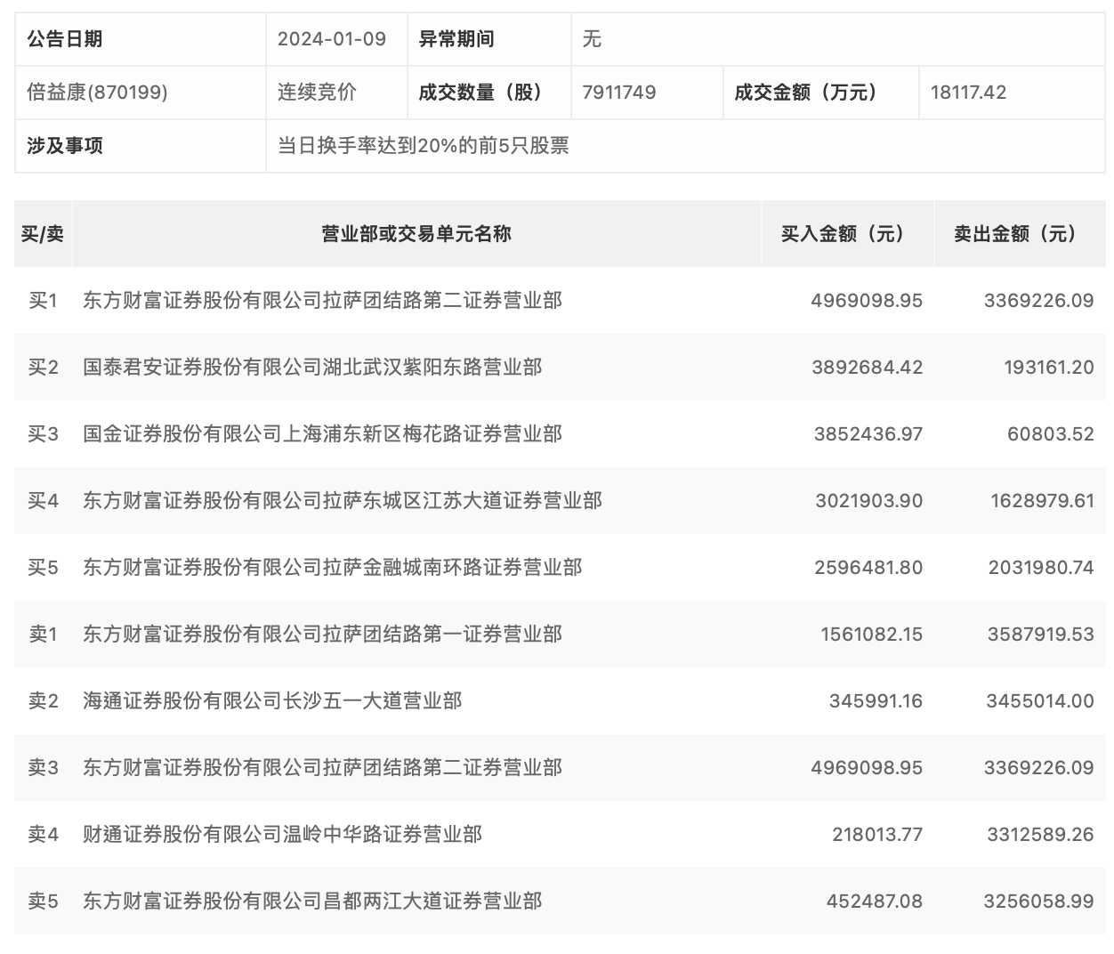
1月9日,倍益康今日跌12%,全天换手率达46.46%,振幅达16.28%。龙虎榜数据显示,营业部席位合计净买入1.44万元。其中,东方财富证券拉萨团结路第一证券营业部、海通证券长沙五一大道营业部分别卖出358.79万元、345.50万元;东方财富证券拉萨团结路第二证券营业部、国泰君安证券湖北武汉紫阳东路营业部分别买入496.91万元、389.27万元。